|
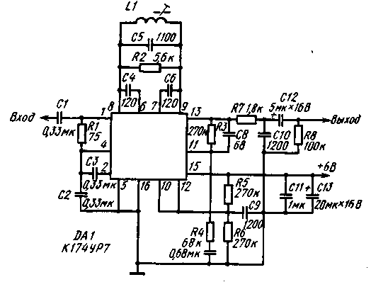
ИМС К174УР7 представляет собой специализированную ИМС для радиоприемников, содержащую усилитель-ограничитель промежуточной частоты ЧМ-тракта А1, балансный ЧМ-детектор U1 и предварительный усилитель низкой частоты А2. Типовая схема включения показана на рис.3.
Входной сигнал поступает на вход усилителя-ограничителя А1, с выхода которого ограниченный сигнал поступает на вход частотного детектора U1. Выход частотного детектора соединен с неинвертирующим входом операционного усилителя А2, который осуществляет предварительное усиление звуковой частоты. Зависимости основных электрических параметров ИМС от режимов эксплуатации приведены на рис. 4-10. Электрические параметры ИМС К174УР7 при 25+10°С и Uи.п.ном=6 В Ток потребления I мА, не более 0.6
Входное напряжение ограничения Uвх.огр, мкВ, при fвх=0,25 МГц, fмод=1 кГц, не более 70 <![if !supportEmptyParas]> <![endif]> Выходное напряжение низкой частоты UвыхНЧ, мВ, при Uвх=10 мВ, fвх=0.25 мГц, fмод=1 кГц, не менее 90
<![if !supportEmptyParas]> <![endif]> Коэффициент подавления амплитудной модуляции КпАМ, дБ, при Uвх=10 мВ, fвх=0,25 МГц fмод=1 кГц, не менее 30
<![if !supportEmptyParas]> <![endif]> <![if !supportEmptyParas]> <![endif]> Предельные эксплуатационные параметры ИМС К174УР7 <![if !supportEmptyParas]> <![endif]> Напряжение питания Uи.п, В: минимальное. 5.4
максимальное 6.6 <![if !supportEmptyParas]> <![endif]> Напряжение входного сигнала Uвх, мВ, не более 100
<![if !supportEmptyParas]> <![endif]> Выходной ток / , мА, не более 0.1
<![if !supportEmptyParas]> <![endif]>
|
ИМС К174УР7
Doc
Просмотров: 5850









