|
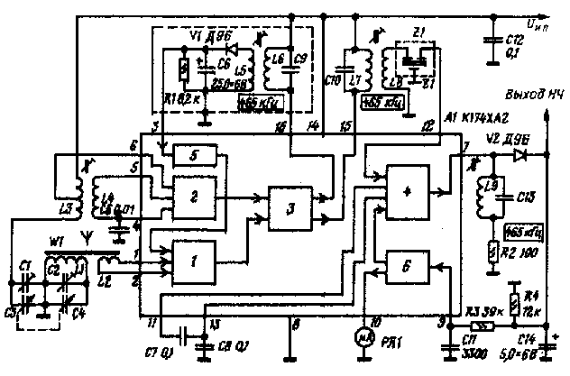
Микросхема К174ХА2 предназначена для использования в радиовещательных супергетеродинных приемниках I-III классов с амплитудной модуляцией. Эта микросхема содержит следующие узлы: усилитель высокой частоты. двойной балансный смеситель с отдельным гетеродином и усилитель промежуточной частоты с АРУ. Ее функциональная схема и схема подключения приведены на рис. 1 (1 - УВЧ; 2 - гетеродин; 3 - смеситель; 4 - УПЧ; 5 - УПТ АРУ УВЧ; 6 -УПТ АРУ УПЧ). Puc.1 Основные технические характеристики
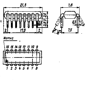
Конструктивно микросхема К174ХА2 оформлена в корпусе 238.16-1. Его габариты приведены на рис. 2.
Предельные эксплуатационные данные
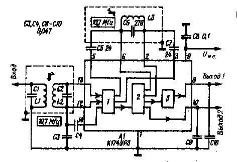
Микросхема К174УРЗ предназначена для использования в радиовещательных супергетеродинных ЧМ приемниках. Эта микросхема содержит следующие узлы : усилитель-ограничитель. частотный детектор и предварительный усилитель НЧ. Ее функциональная схема и схема подключения приведены на рис. 3 (1 - усилитель-ограничитель, 2 - частотный детектор, 3 - усилитель НЧ).
Основные технические характеристики
Конструктивно микросхема К174УРЗ оформлена в корпусе 201.14.1. Его габариты показаны на рис. 4. |

