Заинтересовавшись приемом СТВ, радиолюбители, как правило, приобретают для этого готовый комплект аппаратуры. В него обычно входит параболическая антенна (ПА) небольшого диаметра (0.9...1,2 м). Одним из первых шагов модернизации системы является приобретение антенны большего диаметра. Но антенны большого диаметра очень дороги, поэтому многие пытаются изготовить ПА в домашних условиях. В радиолюбительской литературе публиковались статьи об изготовлении ПА, например [1], но в них не учитывались некоторые факторы. Дело в том, что при конструировании антенн нужно учитывать параметры облучателя, входящего в состав конвертера. Данная статья направлена на систематизацию данных по конструированию ПА и применение их к имеющимся условиям.
Существует множество видов СВЧ-антенн - параболические, фазированные решетки, на основе линз Френеля и т.д. Применительно к условиям домашнего изготовления рекомендуются ПА, ввиду простоты их изготовления.
Возможны два варианта исполнения ПА:
- путем выклейки на матрице;
- пайкой из медной проволоки и сетки (т.н. сетчатые антенны).
Каждая из антенн имеет свои достоинства и недостатки. К достоинствам первой относится простота контроля формы при изготовлении, ко второй - меньшие масса и парусность.
Прежде всего нужно определить, какой облучатель имеется в наличии у радиолюбителя. Обратимся к рис.1 и определим, какие параметры характеризуют антенну. Во-первых, это ее диаметр d (как правило, им и задаются в начале расчета). Наикратчайшее расстояние от фокуса антенны (в фокусе располагается облучатель конвертера, либо второе зеркало в случае двухрефлекторной системы) до .рефлектора антенны называется фокусным расстоянием f. Глубина зеркала h - наибольшее расстояние от плоскости раскрыва рефлектора S до самого рефлектора антенны. Угол апертуры Ф - угол, под которым видна плоскость раскрыва зеркала антенны S из ее фокуса F. При этом они связаны следующими соотношениями.
Отношение f/d определяет параметры вашего облучателя. Обычно f/d лежит в пределах 0,3...0,5. Чем больше это отношение, тем меньше h и тем меньше расход материалов на изготовление ПА (при некоторой потере коэффициента усиления Ку). Если вы имеете облучатель с f/d=0,3 и хотите снизить расходы, то приобретите облучатель с f/d=0,5, а лучше всего приобрести облучатель с изменяемым f/d.
Сначала по формуле(2)вычисляют зависимость у от х (принимающего значения от 0 до d/2) и составляют таблицу. Получившиеся значения переносят на миллиметровку и строят параболу. Далее ее наклеивают на лист стали толщиной 5 мм и выпиливают по линии параболы. Таким образом получается нож (необходимо строго соблюдать его форму, т.к. от этого в большой мере зависит конечный результат и качество ПА). Затем, в соответствии с рис.2, следует подобрать стержень 2 и подшипник 1 подходящих размеров (3 - нож). При этом нож укорачивают на половину диаметра стержня 2 и приваривают к нему соосно. В соответствии с рис.3 изготавливают каркас из стального прутка диаметром 8...10 мм (сваркой). При этом ребра 2 приблизительно выгибают по ножу. В вершину каркаса вваривают подшипник.
Устанавливают каркас на ровной площадке, при этом под подшипник 1 (рис.3) необходимо вертикально установить трубу 4 с внутренним диаметром, большим чем диаметр подшипника 1. Все пространство под каркасом заполняется щебнем или битым кирпичом.
Установив на подшипник шайбу 4 (рис.2) диаметром, чуть большим чем диаметр подшипника, и высотой, равной толщине будущей ПА (например для ПА диаметром 2 м толщина равна 25 мм), вставляют в подшипник нож. Замешивают бетонный раствор цемент-песок до густой консистенции, накладывают его на каркас и выравнивают ножом. Высушивают полученную матрицу в течение 3...5 суток. На третьи сутки (при сухой погоде) затирают образовавшиеся трещины алебастром и зачищают наждачной бумагой, контролируя качество поверхности ножом. Следует заметить, что если вы планируете использовать матрицу неоднократно, поместите между ней и землей два-три слоя рубероида, чтобы она не разрушалась от влаги. Также не советую использовать рекомендацию из [2] по изготовлению матрицы из глины, т.к. этот материал при просушке дает много трещин, и полученная матрица недолговечна.
Далее приступают к выклейке антенны. Существует множество способов выполнения этого процесса. Приведем несколько советов. Во-первых, если вы выклеиваете антенну большого диаметра, то помните три недостатка, присущие ей - большой вес, сопротивление ветру и невысокую прочность. Для упрощения изготовления поделите антенну (точно) на 6...8 секторов (при этом учтите форму их соединения, скрепления). В этом случае матрицу также можно сделать в виде сектора, но все же предпочтительней изготовить ее полностью, т.к. на ней можно будет выклеивать офсетные антенны. Для прочности увеличьте толщину рефлектора и армируйте его радиальными ребрами из стальной проволоки.
В качестве материала для выклейки ПА обычно берут стеклоткань, нарезанную полосами, и эпоксидный клей. Можно воспользоваться методикой, описанной в [1],.несколько упростив ее. Сначала на вымытую с мылом матрицу наносят разделительную смесь, в качестве которой используют автомобильное масло (лучший результат получается, если перед этим натереть матрицу ровным слоем мастики для паркета). В шайбу 4 (рис.2) плотно вставляют трубу, на которую неплотно надевают другую шайбу из дюралюминия, высота которой равна толщине рефлектора. Далее наносят слой смолы (не повредив разделительную смесь) и накладывают куски стеклоткани, разглаживая их и убирая пузырьки воздуха. Конечно, желательно использовать металлизированную стеклоткань, но можно использовать и обыкновенную, ввиду малодоступности первой. В дальнейшем (после изготовления) необходимо оклеить рефлектор кусками алюминиевой фольги, вырезанными секторообразно. Все же первый вариант, с армированной стеклотканью, предпочтительней из-за лучшего качества поверхности. Другой вариант формирования токопроводящей поверхности состоит в нанесении на отражающую поверхность ПА красок, в состав которых входят металлопорошковые основания (серебрянка и т.п.).
Доведя толщину рефлектора до требуемых размеров, приформовывают гайки для его крепления. Можно также раму, к которой крепится рефлектор, приварить к радиальным ребрам жесткости, которыми крепится рефлектор. Рефлектор также можно крепить болтами через сквозные отверстия, просверленные в ПА после ее высыхания. Антенны небольшого диаметра можно изготавливать из папье-маше (идея была подсказана Р.К.Гайдиновым). В качестве наполнителя берутся газеты. Их замачивают в воде и пропускают через мясорубку. Добавляют в полученную массу обойный клей в качестве связующего материала. Полученную смесь наносят на матрицу (предварительно нанеся на нее разделительную смесь) и выравнивают ее шпателем, формируя нужную поверхность. После высыхания антенну снимают и покрывают токопроводящим слоем и несколькими слоями нитрокраски для защиты ПА от атмосферных осадков. Вместо газет можно использовать ткань, как описано в [2], формируя ПА как и в случае со стеклотканью, используя в качестве связывающего материала обойный клей.
Второй вариант ПА (сетчатый) описан в [3]. Для нее изготавливают шаблон (рис.4), параметры которого рассчитывают по формуле (2). По нему изгибают радиальные параболы из толстой медной проволоки. Толщина проволоки выбирается исходя из диаметра антенны. Например для антенны диаметром 1,5 м берут проволоку диаметром 4...5 мм. Также необходимо изготовить круговые пояса. Диаметр поясов меняется с шагом 10...30 см. Места пайки поясов к радиальным параболам вычисляются по формуле (1). После изготовления каркаса его обтягивают мелкоячеистой медной сеткой, которую припаивают к нему. Следует заметить, что чем больше диаметр ПА, тем толще провод, из которого ее изготавливают, и тем труднее его паять (при использовании провода диаметром больше 7 мм желательна контактная сварка).

Следующий шаг - изготовление опорно-поворотного устройства (ОПУ). Все ОПУ делятся на два вида: азимутально-угломестные и полярные.
Первый тип проще в изготовлении, так как использует лишь две регулировочные оси (при перенастройке со спутника на спутник используются обе). Первая ось - азимутальная, и ее угол вычисляется по формуле

где ф - долгота места приема в градусах, Фисз - местоположение ИСЗ на орбите в градусах, w - широта места приема в градусах.
Если вы направите антенну строго на юг, то для настройки на заданный спутник по азимуту вам необходимо от А отнять 180°. Если угол будет положительным, антенну смещают на величину этого угла в западную сторону; если отрицательный - в восточную.
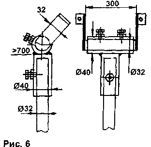
Угол расположения угломестной оси 2 (рис.5) вычисляется по формуле


Указанный тип ОПУ используется в основном с офсетными ПА и прямофокусными ПА малого диаметра. Так как антенны большого формата имеют больший вес, их неудобно перестраивать относительно двух осей. Поэтому для них используют другой тип ОПУ - полярный (рис.7). В нем имеется четыре оси вращения - А (1), УМ(2), полярная (3) и корректирующая (4). Для ориентирования антенны необходимо, чтобы плоскость, которой принадлежат полярная ось и ось рефлектора, лежала в плоскости азимутальной оси 1 и направления на юг, отмеченного в истинный полдень. Для определения направления вбивают в землю небольшой штырь, и каждые 20...30 минут отмечают положение тени, отбрасываемой штырем. Наикратчайшее расстояние от конца штыря, вбитого в землю, до линии, пройденной тенью конца штыря, и является направлением на юг.

Далее устанавливают угол оси УМ (2) равным географической широте места приема в градусах. Устанавливают угол К корректирующей оси (4)
Затем полярную ось (3) поворачивают на угол
где ф -долгота места приема; Фисз - местоположение спутника на ГСО (если в.д. то (Фисз>0, если з.д., то Фисз<0).
Как можно заметить, в случае полярной подвески для перестройки со спутника на спутник используется только полярная ось (что и дало название этому типа ОПУ). Следовательно, упрощается перенастройка антенны. Диапазон перестройки лежит в пределах ±40° относительно южного направления. Но за простоту в эксплуатации платят усложнением механизма ОПУ.
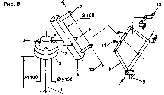
На рис.8 приведен один из многочисленных вариантов полярной ОПУ.
Размеры указаны для ПА диаметром 2 м. К трубе 1 приваривается фланец 2. Сверху надевается фланец 3, который свободно вращается вокруг своей оси. В фланцах имеются отверстия 4 для их взаимной фиксации. К верхнему фланцу приваривают две трубы 5 диаметром 40 мм и длиной 60 см. К этим трубкам двумя болтами крепится труба 6 длиной 80 см. К трубе 6 приваривают две трубы 7 диаметром 40 мм и длиной 25 см. К трубам 7 крепится трапеция 8 посредством винтов 12 (трапеция изготавливается из труб диаметром 25...32 мм). К трапеции посредством скоб 9, 10 (очень прочных) крепится рефлектор антенны, при этом в нижнюю трубу трапеции вставляют штифт с резьбой на концах, а скобу 10 крепят к верхней трубе трапеции посредством винтов 11, которыми регулируется корректирующий угол. Угломестная и полярная оси регулируются с помощью тальрепов (на рисунке не показаны для упрощения). Важно расположить их таким образом, чтобы они были доступны и не мешали доступу к конвертеру, имеющему обратноотражающий облучатель. Не советую приспосабливать всяческие позиционеры, актуаторы и другие средства дистанционной настройки, применение которых оправдано лишь в случаях использования малоформатных ПА. При изготовлении ПА необходимо обеспечить минимальный люфт всех соединений, т.к. болтанка антенны на ветру плохо сказывается на приеме, а также приводит к быстрому разрушению ОПУ.
Для крепления конвертера к антенне в соответствии с рис.9 в рефлекторе сверлят три отверстия. Изготавливают из дюралюминия кольцо 1 с внутренним диаметром, равным диаметру шейки конвертера. Кольцо может состоять из двух частей, соединяемых между собой болтами. В кольце сверлят три отверстия 3 и нарезают в них резьбу. Из дюралюминия (трубок) изготавливают три штанги 2. Размер их подбирается так, чтобы кольцо 1 отстояло от точки фокуса F на 2...3 см. На концах штанг нарезают резьбу и ввинчивают их в кольцо 1, а затем их крепят к рефлектору 4.
Коэффициент усиления полученной антенны рассчитывается по формуле
где Q - коэффициент использования поверхности (КИП), для большинства типов облучателей Q=0,4...0,7 (обычно 0,6);
L - длина принимаемой волны.
В таблице сведены данные о Ку антенн трех диаметров на наиболее используемых диапазонах (Q=0,6).
Как мы видим, чем выше частота, тем больше Ку антенны. Но при существующем положении (спутники имеют приблизительно равную эффективную излучаемую мощность) при различном затухании сигналов на трассе спутник - Земля (на более высоких частотах затухание больше) результирующий сигнал на входе приемника на разных диапазонах приблизительно одинаков.
Интересен и тот факт, что в каталогах многих фирм, торгующих ПА, указаны явно завышенные Ку. Можете проверить самостоятельно, посчитав КУ по вышеприведенной формуле.
|
fo, ГГц |
17,5 |
11,5 |
3,9 |
2,6 |
0,72 |
|
d, м \ L, м |
0,017 |
0,026 |
0.077 |
0,115 |
0,417 |
|
0,6 |
38,7 |
35,0 |
25,5 |
22,1 |
10,9 |
|
2.0 |
49,1 |
45,4 |
36,0 |
32,5 |
21,3 |
|
5,0 |
57,1 |
43,9 |
43,9 |
30,5 |
29,3 |
Из таблицы также видно, что на низких частотах применение ПА нецелесообразно из-за более низкого по сравнению с антенными фазированными решетками Ку.
Приведу несколько советов.
1. Чем больше диаметр ПА, тем уже ее диаграмма направленности, поэтому рядом с большой антенной желательно установить антенну маленького диаметра и настроить ее на спутник, имеющий максимальный уровень сигнала в вашей местности. Затем, заметив приблизительное направление на спутник, направить в том же направлении большую антенну. Приняв сигнал, откорректировать положение облучателя в фокусе антенны по наилучшему приему изображения слабых каналов.
Можно еще больше упростить перенастройку большой антенны, укрепив маленькую на ее краю таким образом, чтобы оси вращения ПА 1, 2 (рис.10) были параллельны. В схему крепления малой антенны необходимо ввести корректирующие винты, для предварительной установки параллельности осей антенны. Приняв сигнал маленькой антенной, переключаются на большую.

Для точной настройки на спутник (даже имеющий очень малый сигнал) очень удобно применять специальные детекторы, схемы которых публиковались в радиолюбительской литературе. Также для этой цели можно использовать анализатор спектра (на диапазоне от 1 до 2 ГГц), подав сигнал от конвертера через разделительный конденсатор. При этом не следует забывать подать на конвертер напряжение питания +14 В.
2. Необходимо тщательно заземлять антенну и конвертер во избежание выхода из строя аппаратуры во время грозы (судя по статистике, это случается довольно часто). Для этого наматывают на разъем, соединяющий кабель с конвертером, 2...3 витка провода диаметром 1,5...2 мм и заземляют его. Таким же проводом заземляют (отдельно и параллельно на один контур) металлическую поверхность антенны и ОПУ.
3. Не забывайте, что чем больше диаметр антенны, тем больше ее сопротивление ветру, поэтому необходимо предусмотреть меры по защите антенны и ОПУ от ветровых нагрузок. Используйте для изготовления ОПУ качественный стальной прокат. К примеру, если для метровой ПА требуется несущая труба диаметром 32...40 мм, то для двухметровой - 120...150 мм. Если имеется возможность, установите антенну так, чтобы ее с тыльной стороны защищала стена. По возможности избегайте установки антенны на высоте.
В заключение хочу отметить, что в данной статье описана лишь малая часть антенных систем.
Персонально благодарю В.В.Орлова и С.А.Козлова за помощь в изготовлении металлоконструкций, чертежи которых приведены в данной статье.
Литература
1. Цуриков Г. и др. Прием СТВ. Антенна для частот 11 ...12 ГГц. - Радио, 1990, N4, С.48-53, 88.
2. Бедак Н. Приставка к ТВ для приема спутниковой программы. - Радио, 1998, N 1, С.12...15.
3. Родионов В.М. Линии передачи и антенны УКВ. - М.: Энергия, 1977.