Замок мостового типа

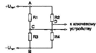
Одним из преимуществ замка мостового типа, по сравнению с обычными замками, является то, что они позволяют довольно простыми средствами и достаточно быстро тиражировать ключи в случае возникновения такой необходимости, например при установке замка на входной двери подъезда многоэтажного дома, в дачном кооперативе, на лодочной станции, на гаражной стоянке, в офисе и т. д. Принцип действия замков мостового типа основан на условии равновесия моста, т. е. произведения сопротивлений противоположных плеч моста должны быть равны. Схема измерительного моста приведена на рисунке.

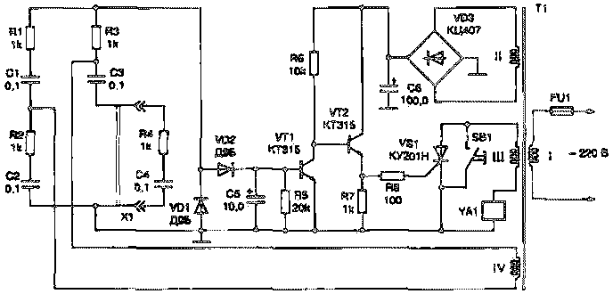
К одной из диагоналей моста, например к точками А и В, подводится напряжение источника питания, а к другой — к точкам С и D, подключается ключевое устройство, реагирующее на минимальный сигнал в этой диагонали моста. Напряжение источника питания оказывается приложенным одновременно к двум, соединенным параллельно, делителям напряжения R1R3 и R2R4. Значение напряжения между точками С и D можно получить из условия равновесия моста: R1R4=R2R3. Это требование относится к мостам постоянного и переменного тока. Схема замка с мостом переменного тока представлена на следующем рисунке. Ключом такого замка служат последовательно соединенные резистор R4 и конденсатор С4. Другие плечи моста, питающегося переменным напряжением, снимаемым с обмотки IV сетевого трансформатора Т1, образуют цепочки аналогичных элементов. Пока ключ (R4C4) не подключен к контактам соединителя X1, мост разбалансирован. С него на вход ключевого устройства поступает переменное напряжение, которое выпрямляется диодами VD1 и VD2 и сглаживается конденсатором С5. Это напряжение приводит к открыванию транзистора VT1, закрыванию транзистора VT2 и тиристора VS1, обесточивающих обмотку электромагнита YA1. Замок закрыт.

При подключении ключа к контактам соединителя X1 мост оказывается сбалансированным. Напряжение на конденсаторе С5 уменьшается, отчего транзистор VT1 закрывается, а транзистор VT2 и тиристор VS1 открываются. Электромагнит YA1 срабатывает и своим якорем через систему механических тяг освобождает защелку механического замка — дверь можно открывать. При отсоединении ключа все устройство принимает исходное состояние. Для открывания замка изнутри помещения используется кнопка SB1, размещенная около замка с внутренней стороны двери.
Мост, а значит и замок в целом, реагирует только на подключение соответствующего ключа.

Источником питания ключевого устройства служит двухполупериодный выпрямитель VD3 с выходным напряжением 9 В. С обмотки III трансформатора Т1 напряжение 42 В подается на электромагнит YA1. Напряжение обмотки IV, питающей мост, должно быть в пределах 10—15 В. Электромагнит лучше всего использовать готовый, например от магнитофонов «Маяк», «Комета» или «Орбита».

Обсудить эту статью на форуме (0 ответов).
Вся информация, предоставленная на данном ресурсе разрешена к ознакомлению детям школьного возраста. Все практическое использование может быть связана с повышенной электрической опасностью и разрешено детям только под присмотром взрослых.