Охранные системы с инфракрасным каналом управления позволяют войти в помещение только тому, кто предъявит своеобразную "визитную карточку" в виде пачки импульсов инфракрасного излучения. Эту импульсно-кодовую посылку формируют с помощью автономного генератора-излучателя, играющего роль ключа.
С работой и конструкцией такого генератора-излучателя знакомит эта статья. В дальнейшем редакция предполагает рассказать и о схемотехнике электронного замка, работающего совместно с подобным ключом. 
В последнее время в охранных системах все чаще применяют инфракрасную (ИК) технику. Одно из наиболее интересных направлений здесь - замки с электронным управлением. "Ключ" к такому "замку" представляет собой миниатюрный брелок, в котором смонтированы генератор и излучатель, вырабатывающие определенную заранее последовательность ИК импульсов, фотодатчик "замка" принимает эту последовательность, идентифицирует ее и лишь в случае совпадения кода отпирает дверь.
Больше всего хлопот конструктору доставит, конечно, "ключ" (или иначе генератор-излучатель). Ведь он должен быть малогабаритным, прочным и легким, экономичным и надежным, а поток И К излучения при всем этом - достаточно мощным, чтобы "замок" мог уверенно принимать сигналы с некоторой дистанции и под довольно острым углом.
Принципиальная схема подобного генератора-излучателя, формирующего пакет из N импульсов, где N может быть любым целым числом в пределах 1-1023, представлена на рис. 1. На инверторах DD1.1, DD1.2 собран управляемый мультивибратор, работающий на частоте f около 160 кГц. Сигнал мультивибратора поступает на счетный вход С четырнадцатиразрядного двоичного счетчика DD2.
Выходная импульсная последовательность формируется на выходе 4 счетчика.
В одной из самых простых систем кодирования тактовый генератор формирует кодовую пачку импульсов, содержащую определенное их число. Дополнительными средствами повышения степени секретности могут быть обычно легко варьируемые частота следования импульсов и их длительность.
Дифференцирующая цепь C2R3 формирует из спада выходных импульсов инвертора DD1.3 короткие - длительностью tи=5...10 мкс - импульсы, открывающие до насыщения транзистор VT1. Пока транзистор открыт, светодиод BL1 излучает ИК импульс.
Шифратор собран на диодах VD1-VD10 и резисторе R6. Выбирая число включаемых в шифратор диодов и их размещение в шифраторе, устанавливают то или иное кодовое число N (на схеме условно показаны включенными все десять диодов). Запускают процесс формирования кодовой пачки импульсов нажатием на кнопку SB1, подающую питание на устройство от батареи GB1.
При включении питания цепь R4C4 формирует на входе R счетчика DD2 импульс, устанавливающий его в исходное - нулевое - состояние, после чего мультивибратор, сделав семь "холостых" колебаний, выходит на рабочий режим. Период tп следования ИК импульсов зависит от частоты f мультивибратора и коэффициента счета делителя частоты, функцию которого выполняют первые четыре разряда счетчика DD2: tn=2^4/f=~16/160*10^3=100 мкс. Соответственно пауза между соседними ИК импульсами tп-tи будет равна 90...95 мкс.
Генерация ИК импульсов после нажатия на кнопку SB1 продолжится до тех пор, пока на выходе шифратора - на входе инвертора DD1.6 - не появится напряжение высокого уровня. Выходной низкий уровень этого инвертора остановит мультивибратор DD1.1, DD1.2. Для формирования новой кодовой пачки нужно отпустить кнопку SB1, при этом конденсатор С3 быстро разрядится через резистор R8, а затем снова на нее нажать.
Число ИК импульсов в пачке зависит от числа установленных в шифраторе диодов и их "веса": N=1*VD1+2*VD2+4*VD3+8*VD4+ +16*VD5+32*VD6+64*VD7+ +28*VD8+256*VD9+512*VD10,
где номера диодов соответствуют их месту в шифраторе; если тот или иной диод в шифраторе присутствует, вместо его обозначения в формулу надо подставить 1, если отсутствует - 0. Так, например, если в шифратор установить только диод VD1 (остальные выходы счетчика остаются свободными), число импульсов N будет равно 1, если только VD10 - N=512, если все диоды - N=Nmax=1023. Для получения N=10 надо впаять диоды VD2 и VD4. Нетрудно подсчитать, что суммарная длительность кодовой пачки в любом случае не превысит 0,1 с.
Мощность ИК импульса зависит от тока через светодиод при открытом транзисторе: Iи=~(Uпит-2,5)/R7 (ток - в амперах, напряжение питания - в вольтах, сопротивление - в омах). В рассматриваемом случае Iи=~70 мА.
В устройстве может быть использован любой n-р-n транзистор со статическим коэффициентом передачи тока не менее 100 и допустимым током коллектора не менее 100 мА. ИК излучателем BL1, кроме указанного на схеме, могут служить светодиоды АЛ115А, АЛ118А, АЛ119Б, АЛ147А и др.; существенным фактором здесь могут быть лишь габариты. Кнопку SA1 следует выбрать наиболее миниатюрную; подойдет, например, микропереключатель МП7.
Особое внимание необходимо уделить постоянно подключенному к батарее питания конденсатору С5 - при неудачном выборе он может оказаться основным энергопотребителем. Если генератор-излучатель питается от батареи небольшой емкости, конденсатор с током утечки более 1 мкА непригоден. Необходимо также иметь в виду и значительные габариты этого конденсатора. При небольшом кодовом числе N конденсатор С5 может иметь меньшую емкость, а значит, и меньшую утечку. Емкость в микрофарадах можно выбрать равной (или большей) числу N.
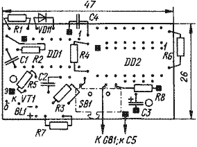
Печатную плату устройства изготавливают из двустороннего фольгированного стеклотекстолита толщиной 1 мм. Чертеж ее показан на рис. 2. Фольгу со стороны деталей используют в качестве общего провода (под микросхемами ее удаляют); вокруг отверстий для выводов фольгу раззенковывают до диаметра 1,5...2 мм или вытравливают. Выводы, припаиваемые к фольге общего провода, обозначены на чертеже квадратами.
Для установки диодов шифратора (на чертеже платы они не показаны) предусмотрен набор контактных площадок. Диоды, подключа
емые к выводам 12-15 счетчика DD2, размещают над микросхемой. Микропереключатель SB1 фиксируют проволочной скобой, впаиваемой концами в плату.
Смонтированную плату помещают в прочную пластмассовую коробку размерами 81х30х17 мм. Никакого налаживания "ключ" не требует.
Напряжение питания генератора-излучателя Uпит=5...6 В. Источником может служить, например, литиевая батарея из двух элементов 2БЛИК-1 (диаметр 13, длина 25 мм). Исключительно малый ток саморазрядки литиевых источников тока и низкое энергопотребление "ключа" определяют целесообразность присоединения батареи пайкой (с необходимыми, разумеется, предосторожностями). Это исключит основную причину сбоев в такого рода устройствах - ненадежные контакты с источником питания.
В закл
ючение немного о выборе числа N - кода "ключа". Очевидно, что от N зависит сложность шифратора. Не следует устанавливать в него все десять диодов - секретности это не прибавит (скорее наоборот!), а лишь увеличит расход энергии от батареи да заставит применить конденсатор С5 емкостью не менее 1000 мкФ.
Нежелателен и обратный подход - стремление к предельному упрощению шифратора, хотя здесь возможен и полный отказ от диодов. В этом случае вход инвертора DD1.6 подключают непосредственно к одному из выходов счетчика DD2; резистор R6 также не нужен. Число N будет равно 2^(n-5), где n - номер (или иначе "вес") выбранного выхода счетчика (не вывода микросхемы!). Остальные выходы оставляют свободными. Нетрудно видеть, что здесь возможны всего десять вариантов кода и, значит, секретность замка невысока.
Лучше всего, если код будет случайным числом (не датой рождения, не номером обуви и т. п.), соответствующим трем-четырем сотням импульсов в излучаемой "ключом" пачке. В этом случае емкость конденсатора С5 может не превышать 470 мкФ.