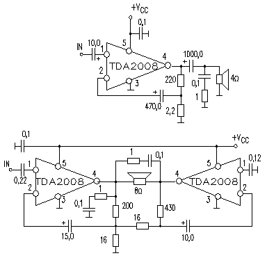
Усилитель TDA2008 12W

 

 

VCC MAX=28V

P0=12W

ICCO TYP=65mA

Rin=150K

VCC TYP=22V

RL=4 Ohm

ICCO MAX=115mA

Gain=40dB

VCC RNG=10...28V

TDH=10%

IMAX=3A

Noise=1mkV

 

Обсудить эту статью на форуме (0 ответов).
Вся информация, предоставленная на данном ресурсе разрешена к ознакомлению детям школьного возраста. Все практическое использование может быть связана с повышенной электрической опасностью и разрешено детям только под присмотром взрослых.