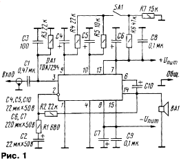
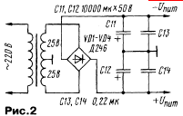
| Вниманию читателей предлагается один вариант усилителя, в котором применена типовая схема включения TDA7294. Основные технические характеристики усилителя (рис. 1) такие: входное сопротивление — 22 кОм; входное напряжение — 750 мВ; номинальная выходная мощность на нагрузке 4 Ом и при коэффициенте гармоник 0,5 % — 70 Вт; диапазон воспроизводимых частот — 20...20000 Гц; напряжение питания — ±27 В; ток покоя — 60 мА. Усилитель имеет встроенную тепловую защиту, а также защиту от перегрузок и короткого замыкания в нагрузке. Для "мягкого" включения усилителя служит выключатель SA1.Устройство может питаться от двуполярного нестабилизированного источника, схема которого приведена на рис. 2. Мощность сетевого трансформатора — 250 В-А, вторичные обмотки должны быть рассчитаны на ток не менее 5 А. | ![]() |
| Детали усилителя смонтированы на печатной плате (рис. 3) из двустороннего фольгированного стеклотекстолита размерами 50x35 мм, плата в сборе показана на рис. 4. Для монтажа использованы резисторы МЛТ-0.25, конденсаторы С4— С7, СЮ — импортные аналоги К50-35 и К73-17 (остальные). В качестве SA1 применим любой малогабаритный кнопочный выключатель. | ![]() |
| Головка громкоговорителя — широкополосная с сопротивлением 4 Ом и мощностью не менее 50 Вт. Саму микросхему необходимо установить на теплоотвод площадью 600 см . | ![]() |
| Для лучшего теплообмена ее корпус следует смазать тонким слоем теп-лопроводящей пасты. Поскольку корпус микросхемы соединен с минусовым проводом питания, он должен быть изолирован от корпуса усилителя. Дополнение: Hi-Fi усилитель на микросхеме TDA7294 |
![]() |
Простой УМЗЧ на микросхеме TDA7294
Doc
Просмотров: 7595



