Особенность устройства - применение для снижения нелинейных искажений так называемой прямой связи.
Основные параметры Номинальный диапазон частот, Гц 20...20 000
Номинальная выходная мощность (в номинальном диапазоне частот), Вт:
на нагрузке сопротивлением 8 Ом при коэффициенте гармоник не более 0,02 % 30
на нагрузке сопротивлением 4 Ом 40
Чувствительность, мВ 500
Входное сопротивление, кОм 20
Относительный уровень шумов и фона, дБ -75
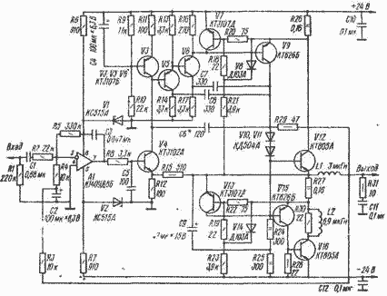
Усилитель содержит четырехкаскадный предварительный усилитель, работающий в режиме А (микросхема А1 и транзисторы V3-V6, V9), выходной каскад, работающий в режиме В (транзисторы V12, V15, V16), и устройство защиты выходного каскада от перегрузок и короткого замыкания в нагрузке (V7, V13).
Первый каскад предварительного усилителя собран на ОУ А1, второй - на транзисторе V4 с динамической нагрузкой (V3) в коллекторной цепи, третий - на транзисторе V9. Двойной эмиттерный повторитель на транзисторах V5, V6 согласует входное сопротивление каскада на транзисторе V9 с выходным сопротивлением каскада на транзисторе V4. Коэффициент усиления первого каскада на частотах выше 20 Гц приблизительно равен 15. Благодаря глубокой ООС по постоянному току через резистор R3 на выходе усилителя 34 поддерживается нулевой потенциал. Применение в выходном каскаде режима В позволило повысить его КПД и полностью исключить необходимость термостабилизации тока покоя. 
Для снижения нелинейных искажений, свойственных режиму В, в усилитель введены элементы С6*, R15, R29, L1, образующие сбалансированный мост, в одну из диагоналей которого включен выходной каскад, а в другую - нагрузка (громкоговоритель). Упрощенно механизм компенсации искажений состоит в том, что напряжение искажений, возникающее в выходном каскаде, не может вызвать появления сигнала искажений, если мост сбалансирован. Благодаря резистору R29 нелинейные продукты в спектре выходного тока компенсируются "исправляющим" током, текущим через этот резистор прямо в нагрузку. При этом наиболее эффективно компенсируются высшие гармоники (сопротивление резистора R29 выбрано так, что указанные токи на этих частотах одинаковы по значению и противоположны по направлениям). Из-за наличия активной составляющей в полном сопротивлении катушки L1 баланс моста на низких частотах нарушается. Малый уровень нелинейных искажений на этих частотах обеспечивается в основном глубокой (50...70 дБ) ООС, напряжение которой поступает с выхода усилителя в цепь эмиттера транзистора V4 (через делитель R15R12).
Устройство защиты ограничивает ток через транзисторы V12, V16 на уровне 3,5 А при перегрузке усиливаемым сигналом и на уровне 1,5 А при коротком замыкании в нагрузке В верхнем (по схеме) плече усилителя эти функции выполняет транзистор V7. В отсутствие сигнала через резисторы R26, R20, R18 и R21 течет постоянный ток, создающий на первых двух из них падение напряжения около 0,45 В. При появлении сигнала, нарастающего в положительную сторону, падение напряжения на резисторе R20 уменьшается, а на резисторе R26 (оно обусловлено в основном коллекторным током транзистора V12) - увеличивается. В момент, когда суммарное напряжение на резисторах R26 и R20 достигает значения 0,65┘0,7 В, транзистор V7 открывается и участком эмиттер- коллектор шунтирует резистор R16, ограничивая тем самым рост коллекторного тока транзистора V12. Диод V8 предотвращает срабатывание устройства защиты из-за увеличения падения напряжения на резисторе R20 в моменты, когда выходное напряжение изменяется в отрицательную сторону.
Аналогично (при изменении полярности усиливаемого сигнала) работает и устройство защиты нижнего (по схеме) плеча усилителя. Элементы R30, L2, С11, R31, С10, С12 предотвращают самовозбуждение усилителя.
Вместо указанных на схеме в усилителе можно использовать операционные усилители К140УД8Б, К140УД7, К153УД6, транзисторы КТ342Г, КТ315 с индексами В, Г, Д, Е (V4); КТ361В (V3, V5, V6), КТ361Д (V7, V13); КТ626А, КТ626В (V9, V15); любые кремниевые диоды, рассчитанные на прямой ток 10 А (V8, V14) и 50 мА (V10, V11).
Катушки L1 и L2 намотаны виток к витку в два слоя проводом ПЭВ-2 - 1,0 на каркасах диаметром 7 и длиной 28 мм и содержат соответственно 30 и 46 витков.
Транзисторы V9, V12, V15 и V16 закреплены на теплоотводе с охлаждающей поверхностью площадью около 900 см2 и изолированы от него слюдяными прокладками толщиной 0,1 мм.
Питается усилитель от двухполупериодного (мостового) выпрямителя с фильтрующими конденсаторами емкостью 10 000 мкФ В выпрямителе использованы диоды 1^1,-203В. Трансформатор питания выполнен на тороидальном магнитопроводе с внешним диаметром 100, внутренним - 64 и высотой 32 мм. Первичная обмотка (на 220 В) содержит 1130 витков провода ПЭВ 2 диаметром 0,51, вторичная - 2 X 104 витка провода ПЭВ-2 - 1,3. Между обмотками помещен электростатический экран в виде одного слоя провода ПЭВ-2 - 0,21. Средняя точка вторичной обмотки и каждый из конденсаторов фильтра, подключенных к положительному и отрицательному выводам выпрямителя, соединены с выводом электростатического экрана и общим проводом усилителя.
Налаживание усилителя сводится к балансировке моста C6R29L1R15 подбором конденсатора С6* на частоте 50... 100 кГц. При этом добиваются минимальных искажений синусоидального сигнала на экране осциллографа.