Динамический фильтр - шумоподавитель

Динамический фильтр - шумоподавитель предназначен для работы в тракте магнитофона, проигрывателя, усилителя ЗЧ и т. д.

Основные параметры
Номинальное входное напряжение, мВ
250
Входное сопротивление, МОм
1
Подавление высокочастотных шумов (при уровне входного сигнала -40 дБ на частоте 20 кГц), дБ не менее
20
Диапазон регулирования порогового уровня входного сигнала, дБ
-40...- 30
Частота среза АЧХ (при уровне входного сигнала-40 дБ), кГц
1
Крутизна ската АЧХ в полосе подавления (на октаву), дБ
6
Крутизна ската АЧХ ФВЧ канала управления (на октаву), дБ
20
Коэффициент гармоник, %, не более
0,5
Коэффициент передачи
0,7

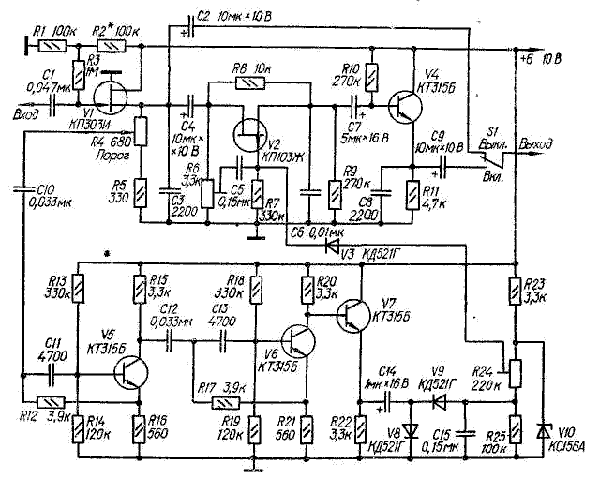
Шумоподавитель состоит из входного истокового повторителя (V1), управляемого ФНЧ (V2, R8, С6), выходного эмиттерного повторителя (V4), активного ФВЧ четвертого порядка (V5, V6) с эмиттерным повторителем на выходе (V7) и выпрямителя (V8, V9) отфильтрованного сигнала.

Переключателем S1 устройство можно отключить, в этом случае сигнал на выход устройства будет поступать с нагрузки истокового повторителя (V1).

Вместо транзисторов КТ315Б в устройстве можно использовать любые транзисторы серий КТ312, КТ315; важно лишь, чтобы экземпляры, предназначенные для работы в ФВЧ (V5, V6), имели коэффициент h2lэ > 80. Транзистор КП103Ж можно заменить на КП103И, КП103К, КП103Л, выбрав экземпляр с напряжением отсечки не более 2 В. Вместо диодов КД521Г можно применить диоды Д220, Д223 и т.п.

Перед налаживанием движки всех переменных резисторов и переключатель S1 устанавливают в нижнее (по схеме) положение. Подключив к выходу осциллограф или милливолътмер переменного тока, подают на вход переменное напряжение 2,5 мВ частотой 20 кГц. Перемещая движок резистора R24 вверх (по схеме), устанавливают на затворе транзистора V2 такое исходное напряжение смещения, при котором он закрыт, но находится на пороге открывания (в этот момент напряжение на выходе устройства перестает убывать). Правильность установки исходного режима проверяют увеличением до максимума напряжения сигнала, для чего движок резистора R4 переводят в верхнее положение. Уровень выходного напряжения при этом должен незначительно возрасти.

Оставив движок резистора R4 в верхнем положении, подключают к выходу измеритель нелинейных искажений и увеличивают входной сигнал до 250 мВ. Минимума нелинейных искажений добиваются вначале подстроечным резистором R6, затем подбором резистора R2*.

Порог срабатывания устройства в процессе эксплуатации устанавливают переменным резистором R4.

Обсудить эту статью на форуме (0 ответов).
Вся информация, предоставленная на данном ресурсе разрешена к ознакомлению детям школьного возраста. Все практическое использование может быть связана с повышенной электрической опасностью и разрешено детям только под присмотром взрослых.