Индикатор выходной мощности современного УМЗЧ

Так называемый пик-фактор музыкальных сигналов (разность между их максимальным и средним уровнем) может достигать 25 - 27 дБ.
Традиционные стрелочные индикаторы среднего уровня не способны регистрировать кратковременные перегрузки, да и плохо вписываются в современный дизайн. Поэтому в современных усилителях все чаще используют пиковые индикаторы, как наиболее быстродействующие и наглядно сигнализирующие о перегрузке.
Подобные индикаторы промышленного изготовления можно встретить на прилавках магазинов, однако их не всегда можно встроить в разрабатываемую конструкцию по тем или иным соображениям.
Думаю, не ошибусь, если скажу, что наибольшей популярностью среди радиолюбителей пользуется схема индикатора, заимствованная из болгарского журнала "Млад конструктор" 4/80.

Рис. 1
Рис. 1

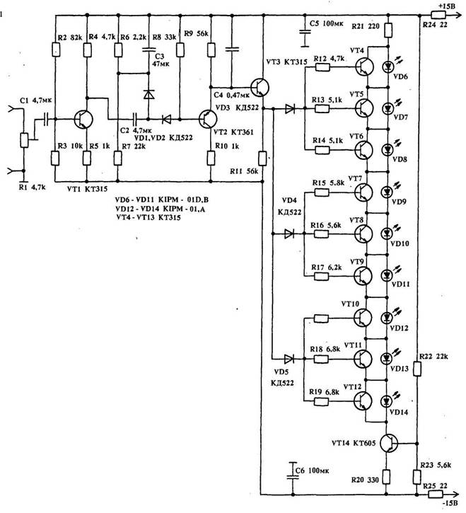
На рис. 1 представлена схема в переработанном виде для двухполярного питания +15 В. Индикатор имеет линейную шкалу (в случае применения" светодиодов одного цвета) и небольшое потребление тока, так как все светодиоды включены последовательно. Подбором делителя R6, R7 устанавливают порог чувствительности. В качестве светодиодов VD6 ≈ VD11 применены мнемонические индикаторы типа КИПМ-01Д зеленого свечения, VD12 ≈ VD14 ≈ КИПМ-01Б красного свечения.
С целью более полного использования всей шкалы индикатора целесообразно предусмотреть закорачивание ограничительного резистора на входе индикатора с переключением усилителя в режим "Интим" (на схеме не показано).
Регулировка индикатора сводится к "зажиганию" всех светодиодов при максимально допустимой выходной мощности с помощью подстроечного резистора R1.
Печатные платы левого и правого каналов выполнены зеркально, что позволяет расположить их рядом, на оптимальном с точки зрения дизайна расстоянии.
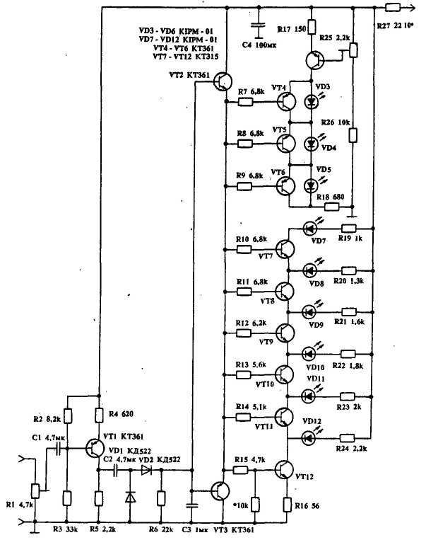
И все-таки наиболее приемлемой для индикатора является логарифмическая шкала, как имеющая максимальный динамический диапазон (индикация от долей до десятков ватт).
Индикатор со шкалой, близкой к логарифмической, представлен на рис.3.

Рис. 2
Рис. 2

По мере срабатывания ключей увеличивается падение напряжения на резисторе R16, и, таким образом, повышается порог срабатывания последующего ключа. Степень логарифмирования зависит от номинала этого резистора. Верхняя часть индикатора заимствована из предыдущей схемы. Порог зажигания светодиода VD6 устанавливают на 0,8 ≈ 1,2 В выше порога зажигания светодиода VD7 с помощью подстроечного резистора R25.
Если нижнюю часть схемы питать от отдельного стабилизатора напряжением 6 ≈ 8В, можно получить эффект, близкий к "бегущим огням", рассчитав соответствующим образом токоограничительные резисторы R18 ≈ R24.
Яркость всех светодиодов, близкую к постоянной, можно получить, если ввести резисторы в эмиттер каждого ключа, как это показано на рис.4.

Рис. 4

Возможный вариант введенных резисторов" (снизу вверх): 22, 27, 36, 43 и 56 Ом.
Нижнюю часть схемы можно использовать и самостоятельно. Число светодиодов можно увеличить до необходимого. Однако следует помнить, что при этом возрастает ток через нижние ключи.

Обсудить эту статью на форуме (0 ответов).
Вся информация, предоставленная на данном ресурсе разрешена к ознакомлению детям школьного возраста. Все практическое использование может быть связана с повышенной электрической опасностью и разрешено детям только под присмотром взрослых.