Комбинированный индикатор уровня записи

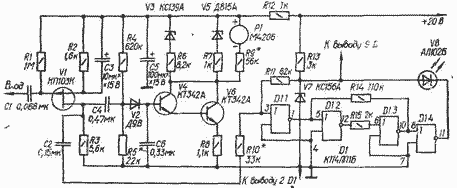
http://www.radio-portal.ru/images/stories/pictures/r4-12.pngКомбинированный индикатор уровня записи предназначен для высококачественных магнитофонов. Он содержит индикатор промежуточного уровня с временем интеграции около 80 мс и диапазоном измерений не менее 28 дБ, а также индикатор максимального уровня, регистрирующий кратковременные превышения номинального уровня записи.

Первый индикатор состоит из усилителя сигнала (V1), выпрямителя (V2) и усилителя постоянного тока (V4, V6), нагруженного на стрелочный измеритель P1. Параметры подключенных параллельно ему цепей V3R6 и V5R7 подобраны так, чтобы шкала измерителя стала близкой к логарифмической. Второй индикатор выполнен на микросхеме D1 и светодиоде VS. Элемент микросхемы D1.1 выполняет функции буферного каскада, D1.2, D1.3 образуют триггер Шмитта, D1.4 использован в качестве инвертора. При превышении номинального уровня записи на выходе триггера формируется сигнал логической 1, а на выходе инвертора D1.4 - логического 0. В результате катод светодиода V8 оказывается фактически соединенным с общим проводом, и светодиод загорается. Напряжение на его аноде стабилизировано стабилитроном V7.

В индикаторе промежуточного уровня применен микроамперметр М4206 с током полного отклонения 100 мкА и внутренним сопротивлением 200 Ом.

Налаживание устройства сводится к калибровке индикаторов подбором резисторов R5, R9 и R10.

Обсудить эту статью на форуме (0 ответов).
Вся информация, предоставленная на данном ресурсе разрешена к ознакомлению детям школьного возраста. Все практическое использование может быть связана с повышенной электрической опасностью и разрешено детям только под присмотром взрослых.