Ограничитель шума в паузах

http://www.radio-portal.ru/https://radio-portal.su/cache/r4-21_images_stories_pictures_thumb_medium600_0.png

http://www.radio-portal.ru/images/stories/pictures/r4-21.png
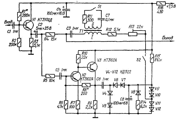
Ограничитель шума в паузах понижает уровень высокочастотных и низкочастотных помех в магнитофоне или проигрывателе. Включают его между выходом указанных источников сигнала и входом усилителя ЗЧ.

Устройство состоит из эмиттерного повторителя (VI) и канала формирования управляющего сигнала, содержащего двухкаскадный усилитель (V2, V3) и выпрямитель (V4-V7). Сигнал на вход усилителя ЗЧ поступает с нагрузки эмиттерного повторителя через делитель напряжения, состоящий из резистора R4 и элементов СЗ, T1, R12, R13, V9-V12 Элементы СЗ, T1, R12, R13 образуют фильтр, АЧХ которого имеет подъем на средних частотах, обусловленный резонансом контура, состоящего из вторичной обмотки трансформатора Т1, конденсатора С7 и резистора R7. При малых сигналах и в паузах фильтр фактически соединен с общим проводом через небольшое прямое сопротивление открытых диодов V11, V12, поэтому низко- и высокочастотные составляющие проходят на выход значительно ослабленными. С ростом уровня сигнала на выходе выпрямителя (V4-V7) появляется напряжение отрицательной полярности, которое закрывает диоды V9-V12, и фильтр отключается от общего провода. В результате весь спектр сигнала проходит на вход усилителя ЗЧ.

Глубину шумопонижения регулируют подстроечным резистором R13. Частотную характеристику управляемого делителя сигнала можно изменить, разорвав цепь колебательного контура выключателем S1 (в этом случае работает последовательный колебательный контур, состоящий из конденсатора СЗ и обмотки I трансформатора T1). Выключатель S2 служит для отключения шумоподавителя.

Кроме указанных на схеме, в устройстве можно применить транзисторы КТ3102Е (VI), КТ3102А - КТ3102Г, КТ315В - КТ315Г (V2, V3), диоды Д220, Д223, КД521. Трансформатор T1 - согласующий от малогабаритного транзисторного приемника.

Обсудить эту статью на форуме (0 ответов).
Вся информация, предоставленная на данном ресурсе разрешена к ознакомлению детям школьного возраста. Все практическое использование может быть связана с повышенной электрической опасностью и разрешено детям только под присмотром взрослых.