Параметрический регулятор тембра

В отличие от традиционных регуляторов, изменяющих АЧХ усилительного тракта на низших и высших частотах, параметрический регулятор позволяет смещать частоты изгиба АЧХ в довольно широких пределах. По функциональным возможностям такой регулятор тембра приближается к многополосному, но значительно проще его.

Основные параметры
Номинальное входное напряжение, мВ
220
Выходное напряжение, В
номинальное
1
максимальное
7
Коэффициент гармоник, %, не более
0,07
Относительный уровень шумов, дБ, не более
-80
Пределы регулирования тембра, дБ
╠10
Диапазон перестройки частоты изгиба АЧХ, Гц, в области частот:
низших
60...700
высших
1 000...8 000

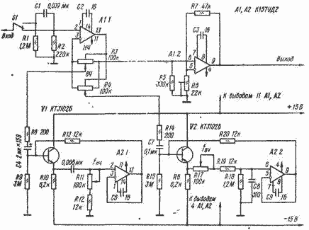
Устройство состоит из усилителя ЗЧ, выполненного на двух ОУ микросхемы А1, фильтра инфранизких частот R2C1 и двух двухполюсников с частотно-зависимым входным сопротивлением, каждый из которых выполнен на транзисторе (V1, V2) и одном из ОУ микросхемы А2.

Между каскадами первого двухполюсника включен фильтр верхних частот (ФВЧ) C5R11R12, второго - фильтр нижних частот (ФНЧ) C8R17R19. Частоты среза этих фильтров можно плавно изменять переменными резисторами R11 и R17.

Входы двухполюсников подключены к движкам переменных резисторов R3 и R4, выполняющих функции собственно регуляторов тембра соответственно на низших и высших частотах. Вследствие этого усиление каскада на ОУ А1.1, в цепь ООС которого включены резисторы R3, R4, зависит не только от положения движков этих резисторов, но и от частоты. При установке движков в крайнее левое (по схеме) положение АЧХ на низших и высших частотах имеет максимальный подъем, в крайнее правое - максимальный спад, в среднем положении движков АЧХ усилителя горизонтальна. Частоты, с которых начинается спад или подъем АЧХ, изменяют переменными резисторами R11 и R17 уменьшение их сопротивлений приводит к смещению частоту область более высоких частот, увеличение - в область более низких частот.

Для уменьшения помех частотой ниже 20 Гц к входу усилителя НЧ подключают (переключателем S1) фильтр инфранизких частот R2C1.

В устройстве можно применить любые другие ОУ с соответствующими цепями коррекции АЧХ и напряжением питания Переменные резисторы R3, R4, R11, R17 - СПЗ-ЗЗг или СПЗ-ЗЗд.

Налаживание регулятора сводится к установке подстроечным резистором R6 номинального выходного напряжения (1 В) при подаче на вход напряжения 220 мВ частотой 1 кГц (движки резисторов R3, R4, R11, R17 должны при этом находиться в среднем положении).

Обсудить эту статью на форуме (0 ответов).
Вся информация, предоставленная на данном ресурсе разрешена к ознакомлению детям школьного возраста. Все практическое использование может быть связана с повышенной электрической опасностью и разрешено детям только под присмотром взрослых.