Пиковый индикатор выходной мощности

Пиковый индикатор выходной мощности при сопротивлении нагрузки усилителя, равной 4 Ом, обеспечивает индикацию выходной мощности в пределах 1,5...100 Вт. Индикатор состоит из одинаковых ячеек, число которых зависит от выбранного шага индицируемых значении мощности.

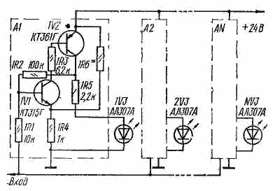
http://www.radio-portal.ru/images/stories/pictures/r2-31.pngКаждая из ячеек представляет собой пороговое устройство, выполненное на транзисторах разной структуры Выходной сигнал усилителя НЧ поступает на базы транзисторов IV1 - NV1 всех ячеек через резисторы 1R1 - NR1. Порог срабатывания ячейки (для примера рассмотрим ячейку А1) определяется напряжением на эмиттере транзистора 1V1, которое зависит от отношения сопротивлений резисторов 1R6 и 1R4. При амплитуде положительной полуволны сигнала, большей напряжения на эмиттере (для кремневых транзисторов - примерно на 0,6 В), транзистор 1V1 начинает открываться. Своим коллекторным током он открывает транзистор 1V2, и напряжение на коллекторе последнего (по отношению к общему проводу) увеличивается. Через резистор обратной связи 1R2 оно поступает на базу транзистора 1V1, и тот открывается еще больше. Процесс протекает лавинообразно до полного открывания транзистора 1V2, в результате чего светодиод 1V3 зажигается. По мере роста амплитуды выходного сигнала усилителя последовательно зажигаются светодиоды 2V3 - NV3.

Индикатор градуируют в единицах выходной мощности Р на номинальном сопротивлении нагрузки Rn усилителя.

При глубине обратной связи, равной 10 % (определяется отношением сопротивлений резисторов 1R2 и 1R1), минимальный регистрируемый уровень выходного напряжения составляет примерно 0,1Uпит. Таким образом, чувствительность устройства можно повысить, снижая напряжение питания. При этом необходимо уменьшить сопротивления резисторов в цепи светодиодов, иначе они будут светиться слабо. Сопротивления этих резисторов (в килоомах) рассчитывают по формуле R5 = 0,1 (Uпит - 2,5).

В индикаторе можно использовать любые кремниевые транзисторы соответствующей структуры со статическим коэффициентом передачи тока h21э>100 и допустимым напряжением между эмиттером и коллектором не менее Uпит. Питать устройство желательно от стабилизированного источника (это гарантирует сохранность градуировки при изменении напряжения сети).

Обсудить эту статью на форуме (0 ответов).
Вся информация, предоставленная на данном ресурсе разрешена к ознакомлению детям школьного возраста. Все практическое использование может быть связана с повышенной электрической опасностью и разрешено детям только под присмотром взрослых.