Предварительный усилитель с активными регуляторами громкости и тембра

Предварительный усилитель с активными регуляторами громкости и тембра предназначен для работы в высококачественным стереофоническим усилителем мощности чувствительностью 0,75... 1 В.

Основные параметры
Номинальный диапазон частот, Гц
20...20 000
Номинальное входное напряжение (при выходном напряжении 1 В), мВ
250
Входное сопротивление, кОм
140
Сопротивление нагрузки, кОм, не менее
10
Диапазон регулирования громкости (на частоте 2,5 кГц), дБ
56
Пределы регулирования тембра (на частотах 30 и 20 000 Гц относительно частоты 1000 Гц) дБ
╠20
Коэффициент гармоник, %, не более (регуляторы громкости и тембра в положениях, соответствующих максимальной громкости и максимальному подъему АЧХ)
0,03
Отношение сигнал/шум (невзвешенное) дБ, не менее (регуляторы в положениях максимальней громкости и линейной АЧХ)
80

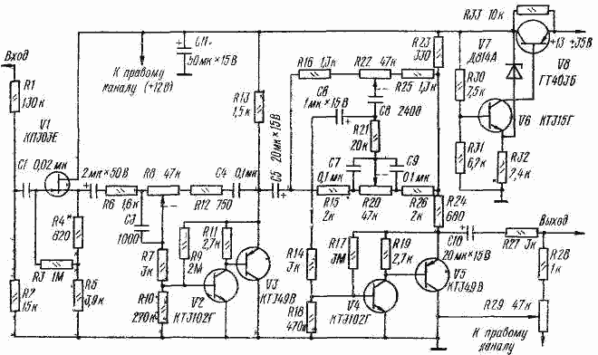
Каждый из каналов предварительного усилителя (на рисунке показана схема одного из них) состоит из истокового повторителя на полевом транзисторе V1 и активных регуляторов громкости и тембра, выполненных соответственно на транзисторах V2, V3 и V4, V5.

Истоковый повторитель необходим при использовании усилителя с источниками сигнала, обладающими большим выходным сопротивлением. Если же устройство используется в магнитофоне или проигрывателе, корректирующие усилители которых имеют, как правило, низкое выходное сопротивление, повторитель можно исключить. В этом случае сигнал подают на конденсатор С2 (поменяв полярность его включения на обратную) через делитель, составленный из резисторов сопротивлением 8,2 кОм и 910 Ом.

Усилители активных регуляторов громкости и тембра одинаковы по схеме и отличаются друг от друга только номиналами некоторых элементов. Соотношения между номиналами элементов С2, R6, СЗ, R8, R12, С4 активного регулятора громкости подобраны так, чтобы при данном выходном сопротивлении истокового повторителя (600┘1000 Ом) обеспечить наилучшую тонкомпенсацию во всем диапазоне регулирования. Требуемый при малой громкости подъем усиления на низших и высших частотах создается соответственно конденсаторами С4 и СЗ. Емкость конденсатора С2 выбрана из условия отсутствия подъема АЧХ при максимальной громкости. Громкость регулируют переменным резистором R8, стереобаланс - переменным резистором R29.

Элементы регулятора тембра включены в цепь ООС, охватывающей усилитель на транзисторах V4, V5. На низших частотах тембр регулируют переменным резистором R20, на высших - резистором R22. При использовании регулятора тембра в других трактах следует учитывать, что выходное сопротивление предшествующего каскада должно быть не более 700 Ом.

Стабилизатор напряжения на транзисторах V6, V8 позволяет использовать для питания усилителя любой нестабилизированный источник.

В усилителе можно использовать любые кремниевые высокочастотные транзисторы соответствующей структуры со статическим коэффициентом передачи тока не менее 400 (V2), 300 (V4) и 100 (V3, V5). Конденсатор С2 желательно подобрать с точностью не менее 10 %. Если это невозможно, подбирают конденсатор С4, емкость которого должна составлять 0,05 емкости конденсатора С2. Транзистор V8 необходимо снабдить теплоотводом в виде флажка, согнутого из листовой меди или латуни толщиной 0,5...0,6 мм.

Налаживание усилителя сводится к подбору резистора R4 до получения на истоке транзистора V1 напряжения 6 В. Режимы работы остальных транзисторов устанавливаются автоматически.

Обсудить эту статью на форуме (0 ответов).
Вся информация, предоставленная на данном ресурсе разрешена к ознакомлению детям школьного возраста. Все практическое использование может быть связана с повышенной электрической опасностью и разрешено детям только под присмотром взрослых.