Пятиполосный активный регулятор тембра

Отличительная особенность устройства - малый уровень собственных шумов и нелинейных искажении, а также малая неравномерность АЧХ при установке полосовых регуляторов в одинаковое положение и "гладкость" ее при установке регуляторов в разные положения (АЧХ не имеет "волнистости", присущей АЧХ большинства подобных устройств).

Основные параметры
Номинальный диапазон частот, Гц, при спаде АЧХ на краях - 3 дБ и входном напряжении 1В (движки всех регуляторов в среднем положении) 8...30 000
Входное напряжение, В:  
номинальное 1
максимальное 2,9
Коэффициент гармоник, %, при входном напряжении 1 В (движки регуляторов в среднем положении) на частотах 100, 1000, 10 000 Гц 0,05
Пределы регулирования тембра на частотах 50, 200, 800, 3200 и 12 800 Гц ╠12
Относительный уровень шумов (при входном напряжении 1 В), ДБ - 80

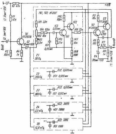
Устройство состоит из входного эмиттерного повторителя на транзисторе V1, пяти активных полосовых фильтров. Z1-Z5 (на схеме показан один из них - Z1) и двухкаскадного усилителя на транзисторах V2, V3.

Тембр регулируют переменными резисторами 1R2-5R2. Включенные последовательно с ними постоянные резисторы 1R1-5R1, 1R3-5R3 ограничивают пределы регулирования до - 12 дБ. Уменьшением их сопротивлений пределы регулирования можно расширить до ╠ 25 дБ.

Усилители активных фильтров (1V1 - 5V1, 1V2 - 5V2) одинаковы по схеме и отличаются один от другого только номиналами конденсаторов 1C1 - 5С1, 1С2 - 5С2 частотозадающих цепей. Напряжения ООС снимаются с части эмиттерной нагрузки транзисторов 1V2 - 5V2 и подаются в цепи баз транзисторов 1V1-5V1. Интервалы между частотами настройки активных фильтров выбраны равными двум октавам. Коэффициент передачи фильтров на частотах настройки равен 6, добротность- 1.

Сигналы с выходов активных фильтров поступают на вход двухкаскадного усилителя через резисторы 1R9-5R9, сопротивления которых определяют и режим работы транзисторов V2, V3 по постоянному току. Корректирующая цепь R6C5 повышает устойчивость работы усилителя на высоких частотах. Для питания стереофонического варианта устройства необходим стабилизированный источник, обеспечивающий при токе 40...50 мА напряжение 15 В.

В регуляторе можно использовать любые кремниевые высокочастотные транзисторы соответствующей структуры с допустимым напряжением между эмиттером и коллектором не менее 15 В и статическим коэффициентом передачи тока h21э не менее 200 (1V1 - 5V1) и 70 (остальные). Допустимое отклонение от указанных на схеме значений емкости конденсаторов 1С1 - 5С1, 1С2 - 5С2 и сопротивлений резисторов lR4 - 5R4, 1R5 - 5R5 не должно превышать ╠10%. Переменные резисторы 1R2 - 5R2 должны быть группы А.

Число полос регулирования можно увеличить, уменьшив интервалы между частотами настройки фильтров до одной или до одной трети октавы. Значения добротности и параметры резисторов частотозадающих цепей для этих случаев приведены в таблице.

Интервал
между частотами
регулирования,
октава
Добротность
Сопротивление резистора, кОм
1R4 - NR4
1R5 - NR5
1R7 - NR7
1
1,7
3,9
47
6,8
1/3
4,5
1,5
120
0,68

Допустимое отклонение параметров элементов частотозадающих цепей октавного (десятиполосного) регулятора ╠10%, третьоктавного ╠ 5%. Налаживания регулятор не требует

Обсудить эту статью на форуме (0 ответов).
Вся информация, предоставленная на данном ресурсе разрешена к ознакомлению детям школьного возраста. Все практическое использование может быть связана с повышенной электрической опасностью и разрешено детям только под присмотром взрослых.