Регулятор частоты вращения вала микроэлектродвигателя

Регулятор частоты вращения вала микроэлектродвигателя постоянного тока позволяет регулировать и стабилизировать обороты вала двигателя при изменении нагрузки.

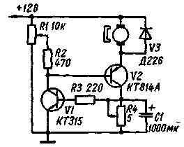
http://www.radio-portal.ru/images/stories/pictures/ss0074.pngМикроэлектродвигатель включен в эмиттерную цепь транзистора V2. Сигнал обратной связи снимается с низкоомного резистора R4 и поступает в цепь базы транзистора VI. При увеличении нагрузки возрастает ток электродвигателя и увеличивается напряжение на резисторе R4. Это приводит к увеличению тока транзистора V2 и увеличению тока базы транзистора VI, что увеличивает напряжение на электродвигателе, и мощность на его валу возрастает. При уменьшении нагрузки описанные процессы повторяются в обратном порядке. Частоту вращения электродвигателя устанавливают в режиме холостого хода переменным резистором R1, изменяя смещение на базе транзистора V2. Резистором R4 устанавливают пределы, в которых может изменяться мощность на валу при сохранении числа оборотов.

Детали. Транзистор VI типа КТ315Б, выбор транзистора V2 (например, КТ814В) зависит от величины питающего напряжения и рабочего тока микроэлектродвигателя; диод V3 типа КД510А.

Обсудить эту статью на форуме (0 ответов).
Вся информация, предоставленная на данном ресурсе разрешена к ознакомлению детям школьного возраста. Все практическое использование может быть связана с повышенной электрической опасностью и разрешено детям только под присмотром взрослых.