Регулятор глубины стереоэффекта

В небольшой комнате не всегда удается разместить громкоговорители на требуемом (2 - 3 м) расстоянии друг от друга, поэтому стереофонический эффект проявляется слабо. Описываемое устройство позволяет электрическим путем увеличить ширину стереобазы вдвое и тем улучшить звучание стереофонических программ.

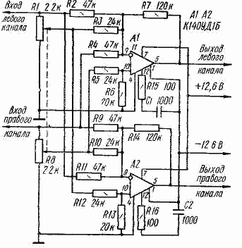
Устройство состоит из двух суммарно разностных преобразователей входных сигналов, выполненных на ОУ А1 и А2. Для его нормальной работы выходное сопротивление предшествующего каскада предварительного усилителя должно быть низким, а напряжение не должно выходить за пределы 200┘2000 мВ. Ширину стереобазы регулируют, изменяя соотношение в каналах суммарного и разностного сигналов с помощью сдвоенного переменного резистора R1 R8. При относительном увеличении уровня суммарного сигнала ширина стереобазы уменьшается, разностного - увеличивается. В нижнем (по схеме) положении движков резисторов R1R8 протяженность стереобазы равна нулю (монофоническое звучание), в среднем - соответствует фактическому расстоянию между громкоговорителями левого и правого каналов, в верхнем - увеличивается вдвое. Коэффициент передачи устройства равен 5.

В регуляторе можно использовать сдвоенный переменный резистор любого типа, но обязательно группы А. Микросхемы К140УД1Б можно заменить другими ОУ с соответствующими цепями коррекции АЧХ и напряжениями питания. Налаживания регулятор не требует.

 

 

 

Обсудить эту статью на форуме (0 ответов).
Вся информация, предоставленная на данном ресурсе разрешена к ознакомлению детям школьного возраста. Все практическое использование может быть связана с повышенной электрической опасностью и разрешено детям только под присмотром взрослых.