Сенсорный регулятор громкости

Схема сенсорного регулятора громкости предложена В. Козловским.

Основные параметры регулятора:

пределы регулирования громкости 0...50 дБ;
коэффициент передачи на уровне 0 дБ равен 1;
максимальное входное напряжение равно 0,75 В;
отношение сигнала к шуму составляет 54 дБ;
глубина тонкомпенсации при минимальной громкости
на частоте 30 Гц - 30 дБ,
на частоте 18 кГц ≈ 10 дБ.

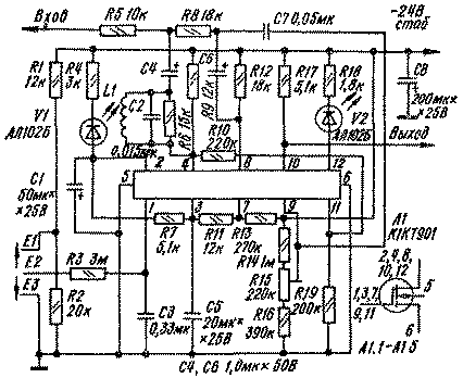
Выполнен на основе интегрального пятиканального коммутатора К1КТ901 (5 полевых транзисторов с изолированным затвором). Регулятор может работать с УЗЧ, входное сопротивление которого не менее 10 Ом, а чувствительность ≈ 0,1...0,7 В.

Работает схема регулятора громкости следующим образом. При включении питания напряжение на конденсаторе СЗ равно нулю, полевой транзистор А1.1 сборки закрыт, и светодиод в его цепи не светится. Транзисторы А1.2 и А1.3 открываются отрицательным смещением через резисторы R11 и R13, и цепь регулируемого сигнала практически оказывается соединенной с общим проводом через конденсаторы С4 и Сб. При этом коэффициент передачи устройства минимален и составляет примерно 50 дБ.

При касании сенсорных контактов Е1 и ЕЗ конденсатор СЗ начинает заряжаться и напряжение на затворе транзистора А1.1 увеличивается, а сопротивление его канала падает, тем самым уменьшая напряжение на затворах транзисторов А1.2 и А1.3. В результате этого сопротивление каналов полевых транзисторов, а следовательно, коэффициент передачи устройства и громкость воспроизводимого сигнала увеличиваются. При уровне громкости ≈ 40 дБ начинает светиться светодиод VI, а при уровне ≈ 20 дБ светится также V2, и яркость их свечения увеличивается до максимальной при наибольшей громкости (0 дБ). При касании сенсоров Е1, ЕЗ конденсатор СЗ разряжается и процесс регулирования протекает в обратном порядке. Подъем АЧХ на низших частотах обеспечивается конденсатором С4, С6 (0,2...5 мкФ), а на высших ≈ колебательным конту╜ром L1C2, настроенным на частоту 18кГц. Регулировка уровня высших частот производится подбором резистора R6.

Микросборка К1КТ901 может быть заменена полевыми транзисторами КП310Б; катушка L1 намотана проводом ПЭВ-2 0,07 до заполнения стандартного трехсекционного каркаса и помещена в броневой сердечник от фильтра ПЧ радиоприемника ╚Сокол╩. Конденсатор СЗ применяют с малым током утечки (например, К73-11). При наладке производится установка режима работы транзистора А1.1 микросборки по постоянному току. Соединяют контакты E1, E2 и подают на вход регулятора переменное напряжение 0,5 В частотой около 1000 Гц, а изменением положения движка потенциометра R15 добиваются максимального уровня сигнала на выходе. Коэффициент передачи, равный 1, устанавливают подбором резистора R17. Коэффициент гармоник регулятора зависит от уровня громкости и при входном сигнале 0,5 В и уровне громкости ≈ 10 дБ достигает максимальной величины (0,35 %). При уровнях громкости 0 до 40 дБ коэффициент гармоник существенно уменьшается (менее 0,05 %) При изменении уровня входного сигнала от 0,1 до 1 В коэффициент гармоник изменяется в пределах от 0,1 до 0,5 %.
Обсудить эту статью на форуме (0 ответов).
Вся информация, предоставленная на данном ресурсе разрешена к ознакомлению детям школьного возраста. Все практическое использование может быть связана с повышенной электрической опасностью и разрешено детям только под присмотром взрослых.