Термостабильный усилитель мощностиТермостабильный усилитель мощности

Отличительная особенность устройства - предельная простота и высокая температурная стабильность, позволяющая эксплуатировать транзисторы выходного каскада при температуре переходов, близкой к предельной.

Основные параметры
Номинальная выходная мощность, Вт, на нагрузке сопротивлением 4 Ом
25
Номинальное входное напряжение. В
1
Коэффициент гармоник, %, не более, на частоте, Гц:
1 000
0.1
5 000
0.14
10 000
0.2
20 000
0.35
Коэффициент интермодуляционных искажений (при подаче, сигналов частотой 160 Гц и 1,4 кГц и отношении амплитуд 4:1), %, не более
0,3
Полоса мощности, Гц
20...150 000
Максимальная скорость нарастания выходного напряжения, В/мкс
8
Входное сопротивление, кОм
150

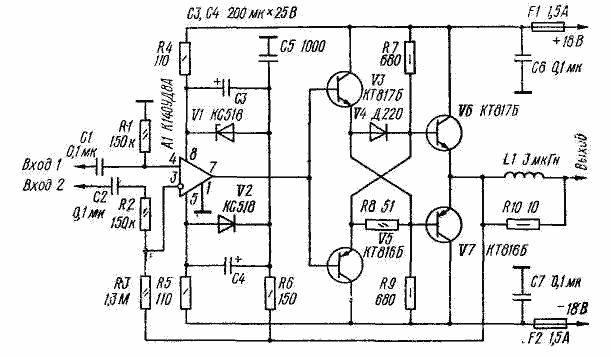
Усилитель - двухкаскадный. Первый каскад выполнен на ОУ А1, второй - на транзисторах V3, V5-V7. Для получения максимально возможного размаха усиливаемого сигнала применено так называемое "плавающее" питание ОУ (за счет подачи в цепь питания части выходного сигнала через резистор R6). В основу выходного каскада положена схема так называемого "параллельного" усилителя, нашедшего применение в маломощных (до 1 Вт) усилителях мощности.

Для улучшения амплитудной характеристики между базами транзисторов V6, V7 включен диод V4. При отсутствии сигнала и до тех пор, пока он не достигнет определенного, уровня, этот диод закрыт и на работу каскада не влияет. В момент ограничения нарастающего в положительную сторону сигнала, когда токи через резистор R7 и базу транзистора V6 становятся равными, и транзистор V5 закрывается, напряжение обратного смещения на диоде V4 начинает уменьшаться, так как транзистор V3 открыт, и сигнал на его эмиттере продолжает увеличиваться. Наконец, наступает момент, когда диод открывается, и вместо канала усиления V5-V6, образуется канал V3-V4-V6. При усилении сигнала, нарастающего в отрицательную сторону, аналогично образуется канал V5-V4-V7. Резистор R8, шунтирующий диод V4, устраняет резкие изломы выходного сигнала в моменты закрывания транзисторов V3, V5 и открывания диода V4.

Высокая термостабильность усилителя достигается использованием хорошей тепловой связи между транзисторами V3, V6 и V5, V7.

Наличие двух входов упрощает использование усилителя в многополосных системах с разделительными фильтрами на входе. Так, в двухполосной системе достаточно установить всего лишь один фильтр верхних частот между входами одного из усилителей (низкочастотный сигнал образуется в результате вычитания сигналов со входа и выхода фильтра). При использовании инвертирующего входа 2 следует помнить, что сопротивление источника сигнала входит в цепь отрицательной обратной ^связи, охватывающей ОУ А1, поэтому оно не должно превышать 15 кОм. Неиспользуемый вход в любом случае необходимо соединить с общим проводом. Для повышения устойчивости усилителя против самовозбуждения на входе необходимо включить фильтр нижних частот с частотой среза 20 кГц.

Указанные параметры получены при питании усилителя от стабилизированного источника. Если же источник нестабилизированный, напряжение питания необходимо понизить на 20 %.

Транзисторы V3, V6 и V5, V7 закреплены попарно на пластинчатых теплоотводах размерами 80 X 70 мм, изготовленных из листового алюминиевого сплава толщиной 2 мм, анодированного в черный цвет. Перед установкой охлаждающие поверхности транзисторов необходимо смазать смазкой ЦИАТИМ-201. Транзисторы устанавливают по обе стороны теплоотвода и закрепляют одним винтом с гайкой. Для обеспечения надежного теплового контакта в течение всего времени эксплуатации под гайки необходимо подложить разрезные стопорные шайбы. Усилитель с указанными теплоотводами работоспособен при температуре окружающего воздуха до 35 СС. Ток покоя (при нормальной температуре - око то 50 мА) увеличивается при прогреве не более чем на 15 %.

Вместо ОУ К140УД8А в усилителе можно использовать ОУ К140УД8Б, К140УД6, К140УД10, К140УД11, К544УД1, К574УД1. Катушку L1 можно намотать на каркасе диаметром 7 и длиной 25 мм. Она в этом случае должна содержать 30 витков провода ПЭВ-2 - 1,0, намотанных в два слоя.

Правильно собранный усилитель налаживания не требует.

Обсудить эту статью на форуме (0 ответов).
Вся информация, предоставленная на данном ресурсе разрешена к ознакомлению детям школьного возраста. Все практическое использование может быть связана с повышенной электрической опасностью и разрешено детям только под присмотром взрослых.