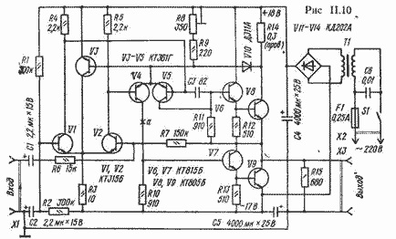
Усилитель с синфазным стабилизатором режима рассчитан на работу с предварительным усилителем-темброблоком на операционном усилителе. Отличительная особенность устройства - наличие эффективного стабилизатора тока покоя транзисторов дифференциальных каскадов.
Основные параметры Номинальный диапазон частот, Гц 10...250 000
Номинальная выходная мощность, Вт, на нагрузке сопротивлением 8 Ом 12
Номинальное входное напряжение, В 1
Коэффициент гармоник, %, при номинальной выходной мощности на частоте, Гц:
1000 0,01
20 000 0,02
Относительный уровень шумов и фона, дБ -80
Входное сопротивление, кОм 15
Усилитель содержит два дифференциальных каскада усиления напряжения сигнала на транзисторах VI, V2 и V4, V5 и выходной каскад усиления тока на транзисторах V6-V9. 
Функции стабилизатора режима выполняет транзистор V3, база которого соединена с эмиттерной цепью транзисторов второго дифференциального каскада, а коллектор - с эмиттерной цепью транзисторов первого каскада. Возникающая при этом ООС по синфазной составляющей сигнала симметрирует дифференциальные каскады и повышает устойчивость к пульсациям и колебаниям питающего напряжения.
Транзистор V3 закреплен на теплоотводе транзистора V8 выходного каскада, поэтому он выполняет еще и функции термостабилизатора режима. Ток через транзистор V3 (40...60 % тока транзисторов VI, V2) необходимо учитывать при расчете сопротивления резистора R3. При замене этого резистора источником тока усилитель может работать при напряжении питания от 12 В до значения, предельного для используемых транзисторов. Если напряжение питания больше 36 В, в разрыв коллекторной цепи транзистора V4 (в точке а) рекомендуется включить еще один транзистор структуры р-n-р (его базу соединяют с коллектором транзистора V7). Возникающее при этом смещение уровня сигнала обеспечит тепловой баланс усилителя и равенство напряжений на коллекторах транзисторов V4, V5.
Для балансировки усилителя неинвертирующий вход (база транзистора VI) соединен со средней точкой делителя напряжения R1R2. Это позволило упростить узел защиты транзисторов выходного каскада от перегрузки по току. в данном усилителе он состоит из резистора R14 в коллекторной цепи транзистора V8 и диода V10, соединяющего эту цепь с базой транзистора V3.
Кроме указанных на схеме, в усилителе можно использовать транзисторы КТ361Б, КТ361Г, КТ361Е, КТ209Е, КТ209К (VI, V2); КТ315Б, КТ315Г, КТ315Е, КТ342А, КТ342Д (V3-V5); КТ626Б, (V6, V7); КТ816Б, КТ816В, КТ818Б (V8, V9). Статические коэффициенты передачи тока транзисторов V6,V7 и V8, V9 должны быть по возможности близкими. При такой замене полярность включения источника питания, электролитических конденсаторов и диода V10 необходимо изменить на обратную.
Усилитель нетрудно приспособить и для работы на нагрузку сопротивлением 4 Ом (выходная мощность при напряжении питания 35 В увеличится до 18 Вт). Для этого сопротивление резистора R6 необходимо уменьшить до 6,8 кОм. R7 - до 68 кОм, R9 - до 90 Ом, R10 и R11 - до 680 Ом. Входное сопротивление после таких изменений снизится до 6,5 кОм
Налаживание усилителя сводится к установке тока покоя выходного каскада подстроенным резистором R8. Если ограничение сигнала настигает не одновременно (из-за неодинакового усиления плеч выходного каскада), подбирают резисторы R10, R11 (в плече, где ограничение наступает раньше, сопротивление резистора следует увеличить, а в другом - настолько же уменьшить). Из-за неизбежного при этом нарушения балансировки второго дифференциального каскада изменять сопротивления резисторов более чем на ╠20% (от номиналов, указанных на схеме) не рекомендуется.