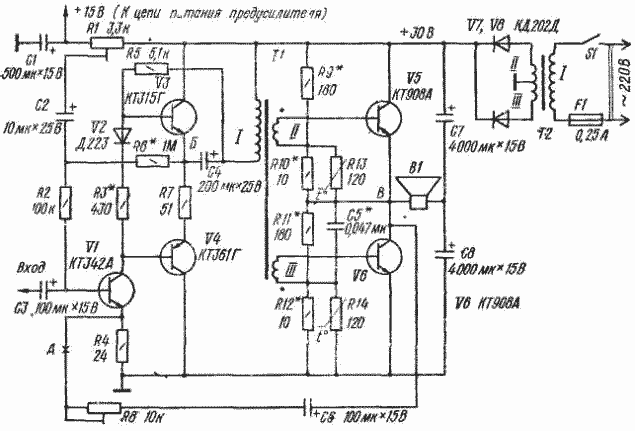
Усилитель с согласующим трансформатором

Особенностью устройства является применение для связи предоконечного каскада с оконечным изготовленного по специальной технологии согласующего трансформатора. Это позволило при небольшом количестве деталей получить высокую стабильность работы усилителя, избавило от необходимости защиты оконечного каскада от короткого замыкания в нагрузке. В оконечном каскаде усилителя можно использовать транзисторы со сравнительно небольшим (равным напряжению питания) предельным напряжением между эмиттером и коллектором.

Основные параметры Номинальный диапазон частот (при спаде амплитудно-частотной характеристики на краях не более 3 дБ), Гц 5...100 000
Номинальная выходная мощность на нагрузке сопротивлением 4 Ом (при коэффициенте гармоник не более 1 %), Вт 20
Номинальное входное напряжение, мВ 100
Входное сопротивление, кОм 45
Относительный уровень шумов и фона, дБ -65

http://www.radio-portal.ru/https://radio-portal.su/cache/r2-5_images_stories_pictures_thumb_medium600_0.png

http://www.radio-portal.ru/images/stories/pictures/r2-5.png

Усилитель содержит двухкаскадный усилитель напряжения сигнала на транзисторах VI, V3, V4 и оконечный каскад на транзисторах одинаковой структуры V5, V6 Нагрузка - громкоговоритель В1 - включена в диагональ моста, образованного транзисторами V5, V6 и конденсаторами С7, С8, что позволило улучшить амплитудно-частотную характеристику (АЧХ) в области низших частот.

Усилитель охвачен общей ООС, напряжение которой снимается с нагрузки и подается в цепь эмиттера транзистора VI, Еще одна ООС - местная - создается через цепь R2R6*, соединяющую выход предоконечного каскада со входом первого. Переменная составляющая тока замыкается через цепь C2R1C1 Одновременно конденсатор С2 и резистор R1 этой цепи вместе с резистором R2 обеспечивает компенсацию пульсаций частотой 100 Гц, проникающих на вход усилителя через цепь R8C6 при питании нестабилизированным напряжением. Подстроечный резистор R1 и конденсатор С1 образуют развязывающий фильтр в цепи питания предварительного усилителя. В случае, если для питания предварительного усилителя используется другой источник, конденсатор С1 необходимо шунтировать резистором сопротивлением 3 кОм.

В предоконечном и оконечном каскадах усилителя необходимо использовать транзисторы с близкими в парах статическими коэффициентами передачи тока h21э. Транзисторы V5 и V6 должны быть установлены на теплоотводах с охлаждающей поверхностью площадью около 400 см2. Терморезистор R13 следует приклеить к корпусу первого из них, R14 - к корпусу второго.

Для согласующего трансформатора Т1 подойдет любой магнитопровод площадью сечения 1,5...2,5 см2, например Ш12 X 16. Обмотку наматывают жгутом из восьми сложенных вместе проводов: шести - марки ПЭВ-2 - 0,17 и двух - ПЭВ-2 -0,31. После намотки концы проводов облуживают, выявляют с помощью омметра каждый из проводов ПЭВ-2 - 0,17 и, соединив их последовательно, получают обмотку I. Оставшиеся два провода ПЭВ-2 - 0,31 используют в качестве обмоток II и III.

Трансформатор питания Т2 намотан на магнитопроводе УШ20 X 30. Обмотка I содержит 1600 витков провода ПЭВ-2 - 0,41, обмотки II и III- по 185 витков провода ПЭВ-2 - 0,9 (намотка в два провода).

Налаживание начинают с установки режимов транзисторов по постоянному току Повернув движок подстроечного резистора R1 в крайнее левое (по схеме) положение и разорвав цепь ООС в точке Л, подбором резистора R6* добиваются в точке Б напряжения, равного половине напряжения питания. Затем, подбирая резисторы R9*и R11*, устанавливают такое же напряжение в точке В. Подбором этих же резисторов добиваются требуемого (450...500 м А) тока покоя транзисторов оконечного каскада.

После этого от генератора сигналов подают на вход усилителя напряжение 3 ..10 мВ частотой 20 кГц и с помощью осциллографа проверяют форму выходного напряжения. Искажения ее в виде "ступеньки" устраняют, увеличивая ток покоя транзисторов V3, V4. Проще всего это сделать, временно заменив резистор R3 переменным (сопротивлением 1 кОм). Увеличивая его сопротивление до исчезновения искажений, необходимо следить за тем, чтобы ток покоя транзисторов V3, V4 (его удобно контролировать по падению напряжения на резисторе R7) не превысил 10... 12 мА. Симметричности ограничения сигнала, превышающего номинальный уровень, добиваются подбором резисторов R10*, R12*.

После этого восстанавливают цепь общей ООС и с помощью подстроечного резистора R8 устанавливают ее глубину 20 дБ. Уменьшив сигнал на входе до нуля, подстроечным резистором R1 добиваются минимума пульсаций частотой 100 Гц на нагрузке. Эту операцию выполняют с подключенным к цепи питания предварительным усилителем. Для получения малых нелинейных искажений выходное сопротивление этого усилителя не должно выходить за пределы 1... 5 кОм. Минимума искажений на высших частотах звукового диапазона добиваются подбором конденсатора С5*.

Обсудить эту статью на форуме (0 ответов).
Вся информация, предоставленная на данном ресурсе разрешена к ознакомлению детям школьного возраста. Все практическое использование может быть связана с повышенной электрической опасностью и разрешено детям только под присмотром взрослых.