Чувствительный микрофон с усилителем на малошумящих транзисторах

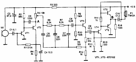
Рис. 1 Чувствительный микрофон с усилителем на малошумящих транзисторах Конструирование чувствительных усилителей для прослушивания речи имеет свои особенности. Это устройство содержит двухкаскадный усилитель низкой частоты на малошумящих транзисторах VT1 и VT2, корректирующий фильтр на транзисторе VT3 и оконечный усилитель, собранный по двухтактной бестрансформаторной схеме, на транзисторах VT4-VT6. Акустическое усиление сигнала звуковой частоты, приведенным устройством составляет 85 дБ, начальный ток потребления - 1,8 мА, полоса усиливаемых частот - от 0,3 до 3 кГц, максимальный выходной уровень сигнала - 124 дБ.
Сигнал с микрофона M1 типа "Сосна" через конденсатор С1 поступает на базу транзистора VT1. Поскольку чувствительность усилителя звуковой частоты ограничена внутренними шумами транзисторов, то для уменьшения шумов в первых каскадах усилителя использованы малошумящие транзисторы типа КТ3102.
Усилительные каскады на транзисторах VT1 и VT2 охвачены глубокой отрицательной обратной связью, которая позволяет обеспечить устойчивую работу каскадов и более линейную АЧХ. Нагрузкой второго каскада усилителя является переменный резистор R3, он же является и регулятором громкости. Сложный RC-фильтр, состоящий из элементов R3, G5, R6, С6, R7, С7 отсекает "шумовые" ВЧ составляющие, принимаемые микрофоном, и оставляет только сигналы в полосе частот до 4 кГц. Этот диапазон обеспечивает наибольшую разборчивость речевой информации.
С выхода фильтра сигнал поступает на оконечный усилитель звуковой частоты, выполненный на транзисторах VT4, VT5 типа КТ315 и транзисторе VT6 типа КТ361. Нагрузкой усилителя служит головной телефон типа ТМ-2А или ТЭМ. Резисторы в схеме используются типа МЛТ-0,125. Резистор R3 - СП 3-41 или другой небольших габаритов.
Настройка устройства сводится к подбору сопротивлений резисторов R1 и R16 для установки напряжения в точках А и В равным половине напряжения питания.
Андрианов В.И., Бородин В.А., Соколов А.В. "Шпионские штучки и устройства для защиты объектов и информации", 1996 г., стр.82
Обсудить эту статью на форуме (0 ответов).
Вся информация, предоставленная на данном ресурсе разрешена к ознакомлению детям школьного возраста. Все практическое использование может быть связана с повышенной электрической опасностью и разрешено детям только под присмотром взрослых.