Галогенки служат дольше

Известно, что холодная нить ламп имеет сопротивление на порядок меньше, чем в разогретом состоянии. Ток в момент включения достигает десятков ампер, что, примерно, в 10 ≈ 15 раз превышает номинальное значение, чем и объясняется вероятный выход ламп из строя.
Как показала эксплуатация ламп в схеме предложенной в [1], помимо снижения яркости их свечения (т.е., по сути дела, сведения на нет главного достоинства галогенных ламп) есть и еще один недостаток: на регулирующем транзисторе рассеивается значительная мощность, что требует его установки на радиатор. Эти недостатки частично устранены в схеме предложенной в [2], но и тут есть свои неудобства: необходимо применять для переключения дальнего и ближнего света два дефицитных реле.
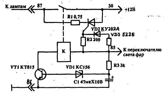
Предлагаемая схема не содержит дефицитных деталей и легко размещается в корпусах уже имеющихся в автомобиле реле, а, самое главное, не требует вмешательства в электрическую схему автомобиля.
Предварительный разогрев ламп осуществляется через сопротивление R1 и тиристор VD2. Цепь R4C1 с постоянной времени, равной 150 мс, определяет время задержки включения реле на время более 50 мс (время заряда конденсатора С1 до напряжения около 6 В), что вполне достаточно для разогрева нитей ламп. При этом "удар" тока не превышает номинального значения для рабочего состояния ламп.
Все детали, кроме тиристора VD2 и резистора R1, размещены в корпусе реле 1133747, применяемого в автомобилях ВА32105, 2107...2109. Транзистор VT1 типа КТ815 можно применить с любой буквой. Стабилитрон типа КС 156 можно заменить на КС147. Конденсатор С1 ≈ типа К50-35. Резьбовой вывод тиристора типа КУ201 (или КУ202 с любой буквой укорочён до 1 мм и припаян к наружной стороне крышки реле через просверленное отверстие. Сопротивление R1 изготавливают из нихромовой проволоки и размещают вокруг тиристора, предварительно надев на него фторопластовую трубку.

Литература:

1. В.Банников. "Чтобы лампы служили долго". "За рулем", 6/91 г.
2. Клуб автолюбителей. "Продлите жизнь лампам" - "За рулем", 1/92 г.

Обсудить эту статью на форуме (0 ответов).
Вся информация, предоставленная на данном ресурсе разрешена к ознакомлению детям школьного возраста. Все практическое использование может быть связана с повышенной электрической опасностью и разрешено детям только под присмотром взрослых.