Охрана автомобиля с оповещением по радиоканалу

Радиопередатчик

Для работы охранных устройств с оповещением по радиоканалу Государственным комитетом по радиочастотам выделена фиксированная частота 26,945 МГц. А чтобы обеспечить для передатчика ее высокую стабильность в широком температурном диапазоне (-40...+60°С), необходимо использовать кварцевую стабилизацию частоты.

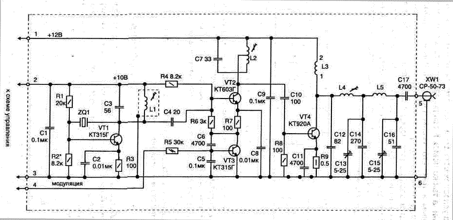
Передатчик собран по классической схеме, рис. 2.51. Высокочастотный сигнал с автогенератора на транзисторе VT1 через промежуточный усилитель на VT2 подается на оконечный усилитель VT4. У промежуточного усилителя коллекторный контур настраивается с помощью сердечника катушки L2 на первую гармонику задающего генератора. Катушка L2 имеет неполное включение, что увеличивает добротность контура. Усилитель на VT2 позволяет уменьшить влияние изменения режима оконечного каскада на работу задающего автогенератора, а также обеспечивает достаточный уровень сигнала для работы усилителя мощности.

2-51.JPG

2-51.JPG

 

Рис. 2.51. Электрическая схема высокочастотной части передатчика

Оконечный усилитель: работает в режиме класса С. Ключевой режим хотя и имеет меньшее усиление, но он самый экономичный при хорошей термоетабильности. Импульсная мощность ВЧ сигнала, подводимого к антенне, около
2 Вт. Для согласования каскада усилителя с низким входным сопротивлением антенны и уменьшения уровня высших гармоник в сигнале применен двухзвенный П-фильтр из элементов C12-L4-C14-L5-C16. Для точной настройки выходного фильтра предусмотрены элементы настройки: С13, С15 и подстроечный сердечник в катушке L4.

Импульсная модуляция ВЧ сигнала осуществляется в каскаде промежуточного усиления при помощи транзистора VT3. Конденсаторы С5 и С6 обеспечивают заваливание фронтов выходного сигнала, рис. 2.52. Это необходимо, чтобы ограничить спектр высокочастотного сигнала (отведенная полоса канала 10кГц).

2-52.JPG
 

Рис. 2.52. Форма выходного сигнала передатчика

 

Выход передатчика соединяется с антенной высокочастотным кабелем с 50-омным "волновым сопротивлением через разъем XW1. Вблизи от антенны расположено согласующее устройство, состоящее из катушки L6 (в экране). Длина соединительного кабеля от согласующего устройства до основного блока составляет 1,64 м или кратна этому значению (3,28 м).

Все остальные элементы высокочастотной части схемы располагаются на печатной плате из одностороннего стеклотекстолита толщиной 1,5...2 мм с размерами 115х35 мм, рис. 2.53, которая помещается в экранированном отсеке корпуса блока охраны.

В схеме применены детали: резисторы типа С2-23, постоянные конденсаторы К10-17, при этом СЗ...С7, С12, С14 и С16 выбираются с минимальным ТКЕ (М75, М47, МЗЗ), подстроечные С13 и С15 типа К4-236 или К4-216. Использован кварцевый резонатор РК169МВ-14ЕП-26945К-В. Катушки выполняются на диэлектрических каркасах диаметром 5 мм, и их вид показан для L1, L2 и L4 на рис. 2.54.

Катушка L5 должна иметь конструкцию, которая обеспечивает её горизонтальное расположение на плате (рис. 2.55) (это снижает влияние полей близко расположенных катушек друг на друга). Намотка выполняется виток к витку проводом ПЭТВ-2 или ПЭЛ-2: L1 содержит 14 витков проводом диаметром 0,23 мм; L2 14 витков с отводом от середины, L4 — 10 витков, L5 — 10 витков проводом диаметром 0,42 мм.

2-53.JPG

2-53.JPG

 

Рис. 2.53. Топология печатной платы и расположение элементов высокочастотной
части передатчика

2-54.JPG

2-54.JPG

 

Рис. 2.54. Конструкция катушки

2-55.JPG

2-55.JPG

 

Pис. 2.55. Конструкция катушки

Подстроечные сердечники могут быть из любого высокочастотного феррита с резьбой М4. Катушка дросселя L3, рис. 2.56, выполняется проводом диаметром 0,12 мм на корпусе резистора МЛТ-0,5 с сопротивлением 1...1.8 кОм и содержит 50 витков. После намотки у всех катушек провод фиксируется клеем "Момент", БФ-4. А для того чтобы сердечники катушек от вибрации при эксплуатации системы в жестких условиях не смещались, их до вкручивания в каркас катушки смазываем несохнущим вязким герметиком.

Поляризованное реле К.1 подойдет типа РЭС32Б РС4.520.204, РС4.520.212 или РС4.520.220. Транзистор VT4 можно заменить на КТ925Б.

На корпусе передатчика устанавливается высокочастотное гнездо XW1 (розетка приборная) типа СР-50-73Ф ГУ3.640.073Сп, а на кабеле от согласующего с антенной устройства — вилка кабельная СР-50-74Ф ГУ3.640.706Сп.

2-56.JPG

2-56.JPG

 

Рис. 2.56. Конструкция дросселя L3

2-57.JPG
 

Рис. 2.57. Антенна с согласующим устройством

Антенна, рис. 2.57, соединяется с согласующим устройством гибким многожильным проводом (длиной 100...200 мм). Согласующая катушка L6 выполняется на каркасе, рис. 2.54, и содержит 25 витков провода ПЭВ диаметром 0,23 мм. Соединение с блоком передатчика осуществляется высокочастотным кабелем РК50-2-16 или аналогичным.

Антенна передатчика может иметь два варианта исполнения. Обе конструкции обеспечивают ее скрытую установку внутри салона автомобиля (вблизи стекла). Это хотя и сильно снижает эффективность (КПД) антенны, но зато исключает повреждение радиоканала системы до срабатывания охраны.

Первый вариант выполняется из стальной проволоки длиной примерно 140...160 мм и диаметром 1,5...2 мм, что позволяет ее расположить над стеклом по дуге и закрепить концы стержня под уплотнительную резиновую прокладку стекла переднего или заднего вида. Она не мешает обзору водителя, а снаружи автомобиля при близком рассмотрении будет казаться, что стекло, имеет в этом месте внутреннюю трещину.

Второй вариант может быть установлен только вблизи стекла заднего вида, а для изготовления антенны взят трехпроводный телефонный кабель, имеющий форму в виде пружинящей спирали (ее удобно закрепить вблизи стекла по диагонали ее с помощью резиновых присосок). Такой провод используют в отечественных телефонных аппаратах для соединения разговорной трубки с аппаратом. Все провода спаиваются между собой и соединяются с согласующим устройством. Согласующее устройство с помощью лепестка экрана крепится к корпусу автомобиля под обшивкой в любом удобном месте.

2-58.JPG
 

Рис. 2.58. Эквивалентная антенна, нагрузка для настройки передатчика

Для предварительной настройки радиопередатчика потребуется изготовить эквивалентную антенне нагрузку (рис. 2.58), состоящую из четырех включенных параллельно резисторов на конце 50-омного кабеля длиной 1,64 м. Резисторы подойдут типа МЛТ или С2-23 мощностью 1 Вт. Выводы у них скручиваются между собой и припаиваются к кабелю при минимальной длине.

Настройка начинается с задающего кварцевого автогенератора. Для этого между выводами 1 и 2 схемы временно устанавливается резистор номиналом 150 Ом, а также перемычка между выводами 1 — 4. Питание подается на выводы 1 (+12 В) и 3 (общий провод) при подключенном эквиваленте антенны. Далее, вращая подстроенные сердечники L1, L2 и L4, добиваемся на выходе (на эквивалентной нагрузке) максимальной амплитуды сигнала.

Для обеспечения надежной работы передатчика задающий автогенератор настраивается на точку максимальной устойчивости колебаний. Выполняется это следующим образом: вкручиваем сердечник в катушку L1 до получения максимального уровня сигнала генератора, после чего поворачиваем подстроечник на пол-оборота назад, пока не будет заметно уменьшение сигнала. Настройку автогенератора можно также выполнять по максимальному току потребления. Такая методика подробно описана в литературе [Л 12, стр. 125]. При этом необходимо помнить, что работа передатчика в режиме непрерывного сигнала (без модуляции несущей) допускается кратковременно (не более 1 мин), так как транзистор VT4 не имеет теплоотвода — при усилении импульсно-модулированного сигнала он и не нужен.

Измерив амплитуду высокочастотного напряжения на нагрузке, например с помощью высокочастотного осциллографа (С1-99) или вольтметра, можно определить выходную мощность передатчика по формуле:

2-59.JPG
 

где:

U — действующее значение напряжения сигнала, [В];

Um — амплитуда сигнала на нагрузке, [В];

R — сопротивление нагрузки, [Ом].

Низкочастотный вольтметр, подключенный к гнездам XS1, XS2, будет измерять Um (стрелочный прибор обеспечивает достаточную точность для определения мощности).

Для удобства настройки приведена таблица с уже посчитанными по этой формуле значениями мощности в зависимости от измеренного напряжения (для нагрузки сопротивлением 45 Ом), а промежуточные значения можно посчитать по формуле.

Таблица 2.3

 

Um, [В] 8 9 10 11 12 12,5 13 13,5 14 14,5
U, [В] 5,66 6,36 7,07 7,77 8,48 8,84 9,19 9,54 9,9 10,25
Р, [Вт] 0,77 0,90 1,11 1,34 1,60 1,73 1,88 2,02 2,18 2,34


 

 

Если измеренная мощность будет меньше чем 1,8 Вт (из-за низкого коэффициента усиления транзистора VT4), то вместо резистора обратной связи по постоянному току R9 можно установить перемычку. В схеме элементы, отмеченные "*", могут потребовать подбора.

Рабочая частота передатчика не должна отклоняться от номинальной 26945 кГц более чем на 1,34 кГц (измеряем частотомером ЧЗ-63 на эквиваленте нагрузки в режиме кратковременной работы передатчика без модуляции). Окончательная настройка выполняется при подключенной цифровой схеме блока управления.

Обсудить эту статью на форуме (0 ответов).
Вся информация, предоставленная на данном ресурсе разрешена к ознакомлению детям школьного возраста. Все практическое использование может быть связана с повышенной электрической опасностью и разрешено детям только под присмотром взрослых.