Прибор для установки угла опережения зажигания

Прибор питается от аккумуляторной батареи (напряжение 12 В, минусовый вывод соединен с корпусом) автомобиля, двигатель которого регулируют.

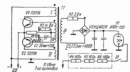
Источником света служит импульсная фотолампа HI. Напряжение питания, необходимое для работы лампы (около 250 В), получают от преобразователя на транзисторах VI и V2 и трансформаторе Т1 и выпрямителя на диодной сборке V3. Поджигающий импульс снимается со свечи первого цилиндра через ограничительные резисторы R4-R6.

Трансформатор намотан на магнитопроводе Ш16 X 20 Обмотки I и III наматывают одновременно в два провода ПЭВ-2 диаметром 0,5 мм, число вит- ков - 21. Таким же образом наматывают и обмотку II (7 витков провода ПЭВ-2 диаметром 0,15 мм), причем начало одной полуобмотки соединяют с концом другой (это соединение служит отводом). Обмотка IV содержит 500 витков провода ПЭВ-2 диаметром 0,2 мм. Конденсаторы С2 и СЗ - бумажные на рабочее напряжение не менее 400 В. Транзисторы VI и V2 желательно подобрать близкими по параметрам. Резистор Rf проволочный, остальные - МЛТ.

Правильно собранный прибор налаживания не требует.

Работают с прибором в следующем порядке. Со свечи 1-го цилиндра (при остановленном двигателе) снимают контактный колпак, надевают на ее вывод переходник прибора и на переходник надевают колпак свечи. Подают питание на прибор (вилку шнура питания прибора включают в розетку бортовой сети автомобиля). На кожухе маховика снимают крышку смотрового окна и запускают двигатель. Нажимают на кнопку включения прибора и направляют свет импульсной лампы на маховик. Если метки на маховике и корпусе двигателя не совпадают, планку регулятора угла опережения зажигания смещают до совпадения меток. Затем двигатель останавливают и отключают прибор.

Обсудить эту статью на форуме (0 ответов).
Вся информация, предоставленная на данном ресурсе разрешена к ознакомлению детям школьного возраста. Все практическое использование может быть связана с повышенной электрической опасностью и разрешено детям только под присмотром взрослых.