Простое противоугонное устройство

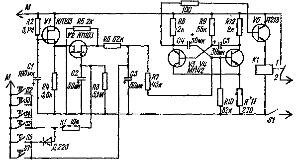
Простая схема противоугонного устройства, устанавливаемого, внутри автомобиля и обеспечивающего включение звукового сигнала при проникновении злоумышленника в автомобиль изображена на рисунке.

Работает устройство следующим образом: перед выходом из автомобиля водитель включает тумблер S1, установленный в потайном месте. При этом конденсатор С1 емкостью 100... 220 мкФ и рабочим напряжением не менее 16 В заряжается через резистор R2 сопротивлением 5....10 МОм. За время заряда конденсатора С1 (5...10 с) водитель должен выйти из автомобиля и закрыть дверь. По истечении примерно 10 с конденсатор заряжается до напряжения, при котором открывается полевой транзистор VI типа КП103 либо КП201 и на сток транзистора V2 (такого же типа, как V1) поступает напряжение отрицательной полярности, близкое по величине к напряжению аккумулятора. Затвор транзистора V2 через резистор R1 сопротивлением 10 кОм подключен к клемме любого плафона освещения салона, связанной с кнопочными переключателями и к запоминающему конденсатору С2 емкостью 50...100 мкФ с рабочим напряжением не менее 16 В. При открывании какой-либо двери автомобиля включается освещение салона и с клеммы плафона освещения через резистор R1 на затвор транзистора V2 поступает напряжение, обеспечивающее открытие транзистора V2. Конденсатор С2 при этом быстро заряжается и в течение 1...2 мин поддерживает транзистор V2 в открытом состоянии, если даже дверь салона после открывания будет закрыта. Током транзистора V2 через резистор R6 заряжается конденсатор СЗ и по истечении 5...10 с напряжение на конденсаторе достигает 4 В. Если за это время тумблер S1 не будет выключен, то мультивибратор на транзисторах V3, V4 из заторможенного состояния перейдет в автоколебательный режим. При этом периодически будет открываться транзистор V5, в эмиттере которого включено реле K1. Контактами этого реле периодически включается звуковая сигнализация. Время звучания звуковой сигнализации после закрывания дверей автомобиля может регулироваться подбором величины конденсатора С2. Длительность сигнальных посылок и пауза между ними определяются величинами конденсаторов С4 и С5. Для указанных на схеме номиналов этих конденсаторов длительность звучания сигнализации и паузы соответственно равны 0,5 и 1,5 с.

При открывании капота или крышки багажника включаются микротумблеры В6 и В7, которые следует установить под крышками капота и багажника. При этом конденсатор СЗ быстро заряжается до напряжения аккумулятора, что немедленно вызовет срабатывание звуковой сигнализации автомобиля. Развязывающий кремниевый точечный диод V6 типа Д223, Д101, Д102, ДЮЗ служит для того, чтобы звуковая сигнализация была включенной как после открывания капота либо крышки багажника, так и при последующем их закрывании. Все электролитические конденсаторы в схеме должны быть с малыми токами утечки. Этим требованиям удовлетворяют танталовые конденсаторы типа ЭТ, ЭТО, К52 и К53 с различными дополнительными индексами. Допускается замена транзисторов П213 на П201, П203, П214, П216 с любыми буквенными индексами.

При монтаже схемы следует пользоваться заземленным паяльником, иначе его электростатический потенциал может вывести из строя полевые транзисторы. Для придания влагоустойчивых характеристик смонтированной схеме ее следует покрыть лаком (например, лаком для ногтей). Работоспособность схемы проверяется поэтапно. Сначала измеряется ток потребления схемы в дежурном режиме. Этот ток не должен превышать 15 мА. При включении схемы напряжение на резисторе R4 должно расти в течение 1,5...2 мин. Это время нарастания регулируется подбором величины конденсатора С/. Затем, измеряя напряжение на резисторе R5 при закрытых дверях с последующим открыванием одной из них, убеждаются, что это напряжение изменяется в пределах от 9...10 В до 4 В в течение 2 ..3 мин. Это время характеризует время звучания сигнализации. Увеличивая либо уменьшая величину емкости конденсатора С2, соответственно увеличивают либо уменьшают время звучания сигнализации. Напряжение на конденсаторе СЗ должно достигнуть уровня 4 В за 5 ..10 с после открывания дверей автомобиля. Это время необходимо, чтобы водитель автомобиля успел выключить тумблером S1 сигнализацию до ее срабатывания. Изменением емкости конденсатора СЗ регулируют время задержки срабатывания сигнализации после открывания дверей автомобиля. От величины резистора R8 зависит пороговое напряжение, при котором срабатывает мультивибратор на транзисторах V3, V4. Если переход в автоколебательный режим возникает при напряжении на СЗ меньше 4 В, то следует увеличить величину резистора R8. Следует отметить, что контакты реле К1 рассчитаны на ток до 2 А. Поэтому в автомобилях, не оборудованных реле включения автомобильных сигналов, необходимо поставить дополнительное реле типа РС-527 включения фар автомобиля ВАЗ-2103 или реле стартера РС-507Б либо РС502 от автомобилей ГАЗ-24 и "Запорожец". Обмотка такого реле должна быть подключена последовательно с контактами К1.

Недостатком охранного устройства является то, что в нем применены электромагнитные реле, снижающие надежность работы схемы. Устранить этот недостаток можно, применив вместо реле тринистор типа КУ202Н, не показанный на схеме. Катод тринистора подключают к клемме - 12 В, а анод через обмотку звукового сигнала - к клемме +12 В. На управляющий электрод тринистора подается напряжение запуска с согласующего каскада, выполненного на транзисторе V5. Эмиттер этого транзистора должен быть соединен с положительной шиной аккумулятора, а коллектор - через два последовательно включенных резистора с сопротивлениями по 100 Ом с отрицательной шиной. Управляющий электрод тринистора подключают к общей точке соединения этих резисторов. База транзистора V5 через резистор 100 Ом подключена к коллектору транзистора V3.

Обсудить эту статью на форуме (0 ответов).
Вся информация, предоставленная на данном ресурсе разрешена к ознакомлению детям школьного возраста. Все практическое использование может быть связана с повышенной электрической опасностью и разрешено детям только под присмотром взрослых.