Радиосигнализатор

На транспортных средствах, предназначенных для перевозки ценных грузов, могут быть применены радиосигнализаторы с дальностью действия до нескольких сотен метров. Для установки такого радиосигнализатора в автомобиле необходимо получить разрешение. Такой радиосигнализатор состоит из УКВ передатчика, включаемого с помощью одного либо нескольких микротумблеров В1, и приемника прямого усиления. Передатчик и приемник настроены на частоту 27...28 МГц. Миниатюрный радиопередатчик со штыревой антенной в виде отрезка провода устанавливается у переднего стекла в кабине автомобиля. Штыревая антенна радиоприемника должна быть сориентирована на антенну радиопередатчика и расстояние между этими антеннами не должно превышать 20...30 м. На рисунке изображены схемы приемной и передающей частей радиосторожа.

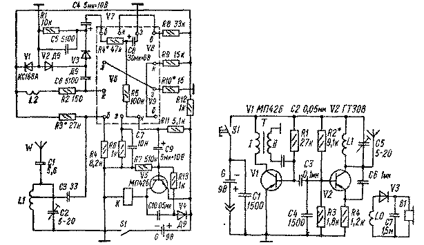
Приемник выполнен по схеме прямого усиления на гибридной интегральной микросхеме 1ММ60 либо К2НТ171 и транзисторе V5. Вместо микросхемы могут быть применены транзисторы типа КТ315Г или КТ301. Выделение излучаемого сигнала в приемной части радиосторожа производится с помощью колебательного контура L1C2, настроенного на частоту 29 МГц. Усиление выделенного сигнала осуществляется с помощью апериодического усилителя на транзисторе Y6. Двухполупериодный детектор V2V3 позволяет выделить сигнал на частоте 1...5 кГц, которым промодулирован сигнал передатчика.

Выделенный низкочастотный сигнал усиливается в трехкаскадном усилителе V7...V9 с непосредственной связью, а затем поступает на базу транзистора V5, коллекторной нагрузкой которого является обмотка реле. Контактами этого реле может подключаться напряжение к осветительной лампе, к звуковому сигналу от автомобиля и др.

Корректирующая катушка L2 намотана на резисторе МЛТ-0,5 56 кОм проводом ПЭВ 0,15. На резисторе наматывают 27 витков, что обеспечит индуктивность около 1,8 мкГн.

Катушка L1 - бескаркасная, выполняется голым медным (желательно посеребренным) проводом диаметром 1 мм на болванке диаметром 16 мм. После намотки 15 витков их раздвигают на длину 20 мм и делают отвод от середины. Конденсатором С2 типа КПК-М производят настройку контура на частоту передатчика.

Передатчик представляет собой два генератора на транзисторах VI и V2, один из которых позволяет формировать низкочастотный модулирующий сигнал, а второй - высокочастотный. Высокочастотный генератор на V2 на высокой частоте включен по схеме с общей базой, что повышает устойчивость генерации. Модулирующий сигнал снимается с обмотки трансформатора Т и через конденсатор СЗ поступает на базу транзистора V2. В качестве трансформатора применяют согласующий трансформатор от какого-либо малогабаритного радиоприемника. Катушка высокочастотного генератора L1 такая же, как в приемной части. Перестройка частоты производится конденсатором С5 типа КПК-М. При налаживании передатчика проверяют наличие генерации на транзисторе VI путем включения капсюля ДЭМ-4М, ДЭМШ-1 либо низкоомного наушника с сопротивлением обмоток 50...100 Ом последовательно с первичной обмоткой 1 трансформатора. При этом прослушивается громкий звук. При отсутствии генерации необходимо концы любой из обмоток поменять местами. /https://radio-portal.su/cache/ss0088_images_stories_pictures_thumb_medium600_0.png

/images/stories/pictures/ss0088.png


Частоту звука и его громкость можно изменить подбором емкости С2. Наличие генерации в высокочастотном генераторе может быть проверено с помощью детекторного индикатора, выполненного на индуктивности L0, сигнал с которой после выпрямления диодом V3 типа Д9 поступает на капсюль. Подбором емкости связи С6 добиваются устойчивой генерации, которая индицируется путем прослушивания частоты модулирующего генератора с помощью капсюля. Катушка индикатора L0 наматывается так же, как и контурная катушка L1, но количество витков должно быть меньшим (10.,.12). При проверке наличия высокочастотной генерации детекторный индикатор устанавливают на расстоянии нескольких десятков сантиметров от контура L1. Наибольшая дальность работы охранного устройства при излучаемой мощности 15 мВт обеспечивается при точной настройке контура L1C2 приемника на частоту передатчика, а также при одинаковой ориентации приемной и передающей антенн.

В качестве простейших антенн может использоваться медный прут либо трубка диаметром до 10 мм и длиной несколько десятков сантиметров (100...120 см). Передающую антенну можно установить горизонтально непосредственно перед передним или задним окном автомобиля. Приемную антенну устанавливают горизонтально и в пределах прямой видимости на балконе, в конце дома, в палатке и т. п.

Частоту генерации передатчика проверяют и устанавливают по УКВ приемнику этого же диапазона частот (28...30 МГц) или по волномеру. В качестве передающей антенны можно использовать вертикально сориентированную штыревую антенну автомобильного радиоприемника. Приемная антенна может быть выполнена в виде отрезка толстого провода длиной 1,5 м.

Обсудить эту статью на форуме (0 ответов).
Вся информация, предоставленная на данном ресурсе разрешена к ознакомлению детям школьного возраста. Все практическое использование может быть связана с повышенной электрической опасностью и разрешено детям только под присмотром взрослых.