Тиристорное устройство зажигания

Достоинством этого устройства является автоматическое отключение многоискрового режима после пуска двигателя. Благодаря этому исключается возможность остановки двигателя при многоискровом зажигании, если в контактах прерывателя размер зазора больше оптимального. При больших углах разомкнутого состояния контактов прерывателя искра может проскочить в следующий по ходу распределителя цилиндр, что вызовет остановку двигателя. Схема может работать при напряжении питания от 5 до 20 В. При частоте вращения вала двигателя 1000 об/мин устройство электронного зажигания потребляет ток около 0,3 А. С увеличением оборотов двигателя потребляемый ток растет и при 6000 об/мин достигает величины примерно 1 А.

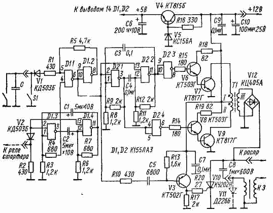
/images/stories/pictures/ss0089.pngНапряжение около 4000 В, до которого заряжается накопительный конденсатор С8, формируется с помощью преобразователя напряжения, выполненного по схеме с внешним возбуждением. Задающий генератор, выполненный по схеме мультивибратора на элементах D2.1 и D2.2, работает на частоте 5...6 кГц, когда на входах 2 и 13 присутствует логическая "1". Разделительные инвертирующие каскады на элементах D2.3 и D2.4 обеспечивают передачу противофазных прямоугольных импульсов мультивибратора на входы ключей V6, V7 и V8, V9, подключенных к обмоткам I я II трансформатора Т1. В обмотке III индуцируется напряжение прямоугольной формы с амплитудой около 400 В. Это напряжение выпрямляется с помощью моста V12 и заряжает накопительный конденсатор С8.

Многоискровый режим зажигания при запуске двигателя обеспечивается с помощью мультивибратора на элементах D1.3 и D1.4. Частота мультивибратора около 200 Гц устанавливается подбором конденсаторов С1 и С2. Мультивибратор переходит в автоколебательный режим, когда с реле включения стартера поступает 12 В на катод диода V2 и закрывает его. С выхода 3 элемента D1.3 прямоугольные импульсы мультивибратора поступают на вход 4 триггера Шмитта, выполненного на элементах D1.1 и D1.2. Когда контакты прерывателя замкнуты, на входе 5 элемента D1.1. присутствует логический "0", а на его инверсном выходе - "логическая 1" независимо от уровня напряжения на входе 4. Тогда мультивибратор D2.1, D2.2 работает, и накопительный конденсатор заряжается до напряжения 400 В. Если контакты прерывателя разомкнуты, то на выходе 6 элемента D1.1 "логическая 1" появляется с частотой мультивибратора D1.3, D1A. Отрицательным перепадом напряжения продифференцированный импульс с этого выхода открывает транзистор V3, обеспечивающий запуск тиристора V10. Конденсатор С8 разряжается через тиристор и первичную обмотку катушки зажигания, создавая искру в свече. Этот же отрицательный перепад напряжения поступает на входы 2 к 13 мультивибратора D2 1, D2.2 и затормаживает его, благодаря чему ключи V6...V9 закрыты, и энергия от аккумулятора не потребляется. После разряда конденсатора С8 тиристор V10 закрывается. Благодаря колебательному процессу в первичной обмотке катушки зажигания конденсатор С8 заряжается до уровня 0,4...0,5 первоначального напряжения. Процесс многократного искрообразования происходит до тех пор, пока контактные пластины прерывателя разомкнуты. После запуска двигателя и отключения стартера диод V2 открывается, мультивибратор D1.3, D1.4 затормаживается и устройство переходит в одноискровый режим зажигания. Конденсатор С, шунтирующий прерыватель, обеспечивает защиту от "дребезга" контактов. С помощью выключателя S1 включается преобразователь напряжения для питания электробритвы. Этот тумблер может быть использован в качестве противоугонного средства.

Трансформатор Т1 намотан на ферритовом сердечнике Ш16x8 типа М2000НМ и состоит из четырех половинок Ш8 X 8. Обмотки I и II содержат по 22 витка провода ПЭВ-2 0,26. В устройстве применены резисторы МЛТ-0,25, электролитические конденсаторы К50-6, С8-МБГО, 1,0 X 600 В. Транзисторы V6, V8 типа КТ503, КТ630, МП37, V7, V9 - КТ817, КТ819, КТ805 А, КТ808 А с коэффициентом передачи тока не менее 10. Транзисторы V3 - КТ502Г, МП25Б, МП26Б, V4 - КТ815 А ...Г, КТ404 А...Г. Диоды VI, V2 - любые маломощные. Транзисторы V7, V9 установлены на отдельных радиаторах с суммарной площадью рассеивания не менее 50 см2.

При установке устройства зажигания откорректировать угол опережения зажигания целесообразно с помощью стробоскопа. Правильно собранное устройство в налаживании не нуждается.

Обсудить эту статью на форуме (0 ответов).
Вся информация, предоставленная на данном ресурсе разрешена к ознакомлению детям школьного возраста. Все практическое использование может быть связана с повышенной электрической опасностью и разрешено детям только под присмотром взрослых.