Блок электронного зажигания

Автомобильные системы зажигания сейчас в основном построены на тиристорах [1], тем не менее, транзисторные системы не потеряли своей актуальности [2, З]. В последнее время выпускается много мощных, в том числе составных, транзисторов с характеристиками, позволяющими использовать их для автомобильных систем зажигания.

Предлагаемая схема автомобильного электронного блока зажигания разработана и испытана автором в автомобиле "Жигули 2108" и др., в которых применяются транзисторные коммутаторы (3620-3734) с бесконтактным датчиком Холла (53.013706).

Отличием данной конструкции от штатной [2] является то, что для формирования импульсов прерывания используется микросхема К561ЛА8, включенная по схеме триггера Шмитта.

Технические характеристики практически не отличаются от штатного блока зажигания, но с применением триггера Шмитта импульсы прерывания формируются с более крутым задним фронтом, что позволяет практически мгновенно отключать источник тока от катушки зажигания, тем самым повышая высокое напряжение на ее вторичной обмотке.

Применение конденсатора С2 обеспечивает отключение катушки зажигания от источника тока при остановке двигателя автомобиля, тем самым предотвращая бесполезный нагрев катушки.

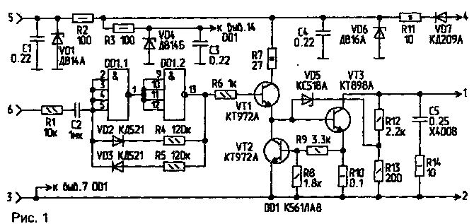
Схема блока электронного зажигания, изображенная на рис.1, содержит:
- схему формирования импульсов с регулируемой скважностью на микросхеме DD1. собранную по схеме триггера Шмитта;
- мощный ключ на транзисторах VT1 и VT3 с активным ограничителем тока на транзисторе VT2,делителем напряжения на резисторах R8, R9 и токоизмерительным резистором R10;
- стабилизатор напряжения для питания микросхемы DD1 на стабилитроне VD4, конденсаторе СЗ и резисторе R3;
- схему защиты от превышения импульсного напряжения в бортовой сети на стабилитроне VD6, конденсаторе С4 и резисторе R11;
- схему защиты блока от неверного присоединения аккумуляторной батареи на диоде VD7;
- схему защиты транзистора VT3 от импульсных перегрузок при работе катушки зажигания на диоде VD5. резисторах R12, R13.

Работает схема следующим образом. При включении зажигания напряжение от аккумуляторной батареи подается на схему через диод VD7 и резистор R 11. На катушку зажигания напряжение в начальный момент не поступает, так как стартер не вращает вал двигателя, и на входе микросхемы DD1.2 отсутствуют импульсы. На выходе DD1 присутствует напряжение низкого уровня, которое удерживает транзистор VT1 в закрытом состоянии, поэтому закрыт и транзистор VT3.

Когда стартер поворачивает вал двигателя, на выходе датчика возникают импульсы, поступающие через С2 на вход элемента DD1.1. Последний переключается, и на выходе DD1.2 появляется импульс, который открывает транзисторы VT1 и VT3. Через катушку зажигания проходит ток, и в магнитном поле катушки накапливается электрическая энергия. В следующий момент, когда с выхода датчика исчезает импульс положительной полярности, триггер Шмитта резко переключается в обратное состояние, на выходе элемента DD1.2 появляется низкий уровень, поступающий на базу транзистора VT1. Транзисторы VT1 и VT3 быстро закрываются, и ток, проходящий через катушку зажигания, также быстро исчезает. При этом в первичной обмотке катушки индуцируется ЭДС самоиндукции напряжением 400 В, а во вторичной обмотке катушки зажигания возникает импульс высокого напряжения — 23000...25000 В.

В мощном ключе на транзисторах VT1 и VT3 применена схема активного ограничения тока в катушке зажигания, которая защищает транзистор VT3 от перегрузки и стабилизирует величину тока"разрыва"при колебаниях питающего напряжения бортовой сети автомобиля, тем самым обеспечивая неизменность выходных характеристик системы зажигания [З].

При отпирании транзистора VT1 выходной транзистор VT3 насыщается, обеспечивая низкую величину остаточного напряжения на выходе блока электронного зажигания. Пока ток, протекающий через выходной транзистор VT3 и токоизме-рительный резистор R10, включенный в его эмиттерную цепь, ниже допустимого уровня ограничения, транзистор VT2 заперт.

При достижении выходным током предельного уровня,транзистор VT2 начинает открываться, и потенциал на его коллекторе понижается, что приводит к уменьшению величины тока управления. Транзистор VT3 при этом выходит из режима насыщения в активный режим, напряжение на выходе возрастает до уровня, при котором поддерживается заданный режим тока ограничения. В случае превышения импульсного напряжения в катушке зажигания, оно через делитель R12-R13 подается на стабилитрон VD5, который, открываясь, запирает транзистор VT3. Цепочка C5-R14, включенная параллельно выходному транзистору,является элементом колебательного контура ударного возбуждения,т.е. определяет величину и скорость нарастания вторичного напряжения, развиваемого системой зажигания. Резистор R14 ограничивает емкостный ток через транзистор VT3 в момент отпирания последнего, если конденсатор С5 разряжен. Конструктивно блок электронного зажигания выполнен на печатной плате (рис.2) из одностороннего фольгиро-ванного стеклотекстолита размером 95х75 мм, на которой смонтированы элементы схемы. Плата устанавливается в штатный корпус от коммутатора 3620-3734.

В электронном блоке зажигания использована микросхема К561ЛА8 и резисторы МЛТ. Резистор R10 — типа С5-16 мощностью не менее 1 Вт. Конденсаторы — К73-11 на напряжение не менее 63 В. Диоды VD2, VD3 — КД521А или любые кремниевые маломощные. Стабилитрон VD1 — на напряжение стабилизации 8 В, типа Д814А или КС182А. Стабилитрон VD4 — на напряжение стабилизации 9 В, типа Д814Б или КС191А. Стабилитрон VD5 — КС518А или КС508Г. Диод VD7 — типа КД209А, можно заменить диодом КД226Г. Транзисторы VT1, VT2 — КТ972А; VT3 — КТ898А или КТ890А (КТ8109А). VT3 устанавливается на штатный радиатор из алюминиевой пластины толщиной 4 мм, изолированный от корпуса двойной слюдяной прокладкой с термопроводной пастой.

Для налаживания блока применяется звуковой генератор с частотой от 30 до 400 Гц, имитирующий работу датчика прерывателя. Для получения выходного сигнала напряжением 7...9 В, в случае необходимости, к нему нужно изготовить усилитель мощности на транзисторе КТ815 [4]. Для просмотра импульсов годится любой осциллограф, лучше двухлучевой. Кроме того, необходим блок питания с регулировкой напряжения от 8 до 18 В с током не менее 10 А.

На момент настройки схемы можно обойтись без катушки зажигания, нагрузив коллектор транзистора VT3 на дроссель с магнитопроводом из пластин электротехнической стали индуктивностью 3,8 мГн, сопротивлением 0,5 Ом. Для этого можно использовать унифицированный низкочастотный дроссель типа Д 179-0,01-6,3. Генератор-имитатор датчика импульсов подключают на вход схемы и наблюдают на осциллографе форму и амплитуду выходных импульсов.

Изменением сопротивлений в цепях VD2-R4 и VD3-R5 можно регулировать скважность импульсов, что позволяет регулировать время замыкания и размыкания катушки зажигания.

Для установки необходимого тока ограничения осциллограф подключают к эмиттеру транзистора VT2. При этом в эмиттерную цепь транзистора VT2 необходимо временно подключить резистор сопротивлением 0,1 Ом. Изменяя напряжение на блоке питания, наблюдают появление сигнала на эмиттере. Регулировка уровня ограничения тока производится резисторами R12 и R13. После предварительной настройки схему устанавливают в автомобиле в соответствии со схемой подключения [2] и производят ее окончательную настройку.

Литература:
1. Ломакин Л. Электроника за рулем. — Радио, 1996, N8, С.58,
2. Старков В. Транзисторные системы зажигания — Радио, 1991, N9. С.26-29.
3. Бела Буна. Электроника на автомобиле. — М.: Транспорт,1979.
4. Автомобили "Жигули 2108" и их модификации. Устройство и ремонт. — М.: Транспорт,1987.
5. Ютт В.Е. Электрооборудование автомобилей: Учебник. — М.: Транспорт,1989, 175с.
6. Сидорчук В. Электронный октан-корректор. — Радио, 1991, N11, С.26.

Источник : Г.СКОБЕЛЕВ, 640000, г.Курган, а/я 2881.
Обсудить эту статью на форуме (0 ответов).
Вся информация, предоставленная на данном ресурсе разрешена к ознакомлению детям школьного возраста. Все практическое использование может быть связана с повышенной электрической опасностью и разрешено детям только под присмотром взрослых.