Термостабилизатор

В предлагаемом устройстве применено позиционное регулирование с беспомеховой коммутацией нагрузки при переходе сетевого напряжения через ноль. Кроме того, его отличительная особенность - возможность оперативного переключения режимов работы "Нагревание" или "Охлаждение". Предлагаемый термостабилизатор в зимний период поможет лучше сохранить плодоовощную продукцию:
- на балконе или лоджии в теплоизолированном контейнере со встроенным нагревателем;
- в кладовой, подвале с помощью коллекторного электродвигателя с вентилятором, нагнетающим холодный наружный воздух.

 reg1001

reg1001
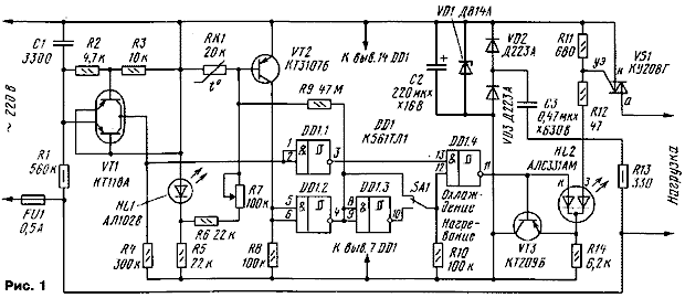
 Схема стабилизатора приведена на рис. 1, а чертеж печатной платы - на рис. 2. Требуемую температуру устанавливают переменным резистором R7. Устройство содержит переключатель, позволяющий устанавливать режимы охлаждения или нагревания.

  Датчик температуры - терморезистор RK1. Питают его от параметрического стабилизатора HL1R5. Сигнал датчика усиливается транзистором VT2 и воздействует на входы элемента DD1.2: повышенной температуре соответствует высокий уровень на его выходе, а пониженной - низкий. Резистор R9 обеспечивает некоторый гистерезис срабатывания датчика при изменении температуры, что необходимо для позиционного регулирования.

  Далее прямой или инвертированный элементом DD1.3 сигнал состояния датчика температуры поступает на нижний по схеме вход (вывод 12) элемента совпадения DD1.4, на верхнем входе которого (вывод 13) присутствуют импульсы синхронизации, соответствующие моментам перехода сетевого напряжения через ноль. Только наличие напряжения высокого уровня на нижнем входе разрешает подачу управляющих импульсов на симистор, поэтому положению "Нагревание" переключателя SA1 соответствует включение симистора при уменьшении температуры, а положению "Охлаждение" - при увеличении. Светодиод НL2 индицирует работу регулятора: красному свечению соответствует отключенное состояние нагрузки, а зеленому - включенное.

  reg1002Для надежной работы симистора при пониженной температуре (до 2...4 ╟С) ток управляющего электрода увеличен до 80 мА, а длительность импульса - до 0,7 мс (0,3 мс до момента перехода напряжения сети через ноль и 0,4 мс после). Для такого импульса и мощности нагрузки 75 Вт мгновенные значения тока через симистор на фронтах импульса несколько превышают нормируемые значения тока удержания. Однако помимо подобного согласования нагрузка регулятора должна с запасом обеспечивать нужный тепловой режим в хранилище. При одном и том же качестве теплоизоляции изменение мощности влияет лишь на соотношение времени включенного и отключенного состояния нагрузки и не влияет на регулируемую среднюю температуру и электрические режимы элементов регулятора. Поэтому мощность нагрузки при нагревании (реостата, лампы накаливания и т. п.) целесообразно увеличить, чтобы можно было использовать худшие экземпляры симисторов с повышенным током удержания. Для охлаждения мощность вентилятора может быть невелика и потребуется лучший экземпляр симистора с небольшим током. Важно обеспечить выполнение этого условия. Дело в том, что если из-за малого тока нагрузки симистор в один из полупериодов не будет открываться, через нагрузку потечет однополярный ток, совершенно недопустимый для двигателя переменного тока.

  В термостабилизаторе использованы детали: переменный резистор - РП1-64А, терморезистор - ММТ-1, резистор R9 - КИМ мощностью 0,125 Вт, конденсатор С2 - К50-29. Переключатель SА1 - перемычка, устанавливаемая в нужное положение перед применением стабилизатора.

  Налаживание термостабилизатора сводится к установке регулируемой температуры в хранилище по термометру переменным резистором R7. В процессе эксплуатации температуру в хранилище следует периодически контролировать, чтобы продукты не испортились при отключениях электроэнергии, неисправностях, сильных морозах и т. п.

  Устройство имеет гальваническую связь с электрической сетью. Это следует помнить при изготовлении и налаживании стабилизаторов и соблюдать меры предосторожности: все изменения в конструкцию вносить только в отключенном от сети состоянии.


В. Жгулев
г. Серпухов, Московской обл.

Обсудить эту статью на форуме (0 ответов).
Вся информация, предоставленная на данном ресурсе разрешена к ознакомлению детям школьного возраста. Все практическое использование может быть связана с повышенной электрической опасностью и разрешено детям только под присмотром взрослых.