Автоматические выключатели телевизоров

Забывчивые телезрители, не выключающие телевизоров после окончания передач, могут воспользоваться автоматическими выключателями. Один из них управляется сигналом, снимаемым с видеоусилителя.

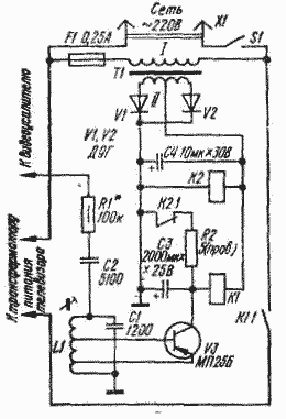
При включении телевизора выключателем S1 на выходе выпрямителя (диоды VI, V2) появляется постоянное напряжение, реле К2 срабатывает и размыкает контакты К2.1. Конденсатор СЗ начинает заряжаться через обмотку реле K1. Реле срабатывает и замыкает контакты К1.1, при этом напряжение питания подается на телевизор. По мере заряда конденсатора СЗ ток, протекающий через обмотку реле К1, уменьшается по экспоненциальному закону. Продолжительность заряда выбрана такой, что прежде, чем ток через обмотку достигнет тока отпускания реле К1, с видеоусилителя через цепочку R1C2 на контур L1C1 поступит видеосигнал. Так как контур настроен на частоту следования строчных синхроимпульсов (15625 Гц), он выделит синусоидальный сигнал, который с катушки L1 подается на эмиттерный переход транзистора V3. Отрицательные импульсы, возникающие на базе транзистора, открывают его до насыщения. При этом конденсатор СЗ разряжается через транзистор, а в обмотке реле К1 поддерживается ток, достаточный для надежного удержания контактов К1.1 в замкнутом состоянии.

По окончании телепередач вместе с видеосигналом пропадают и синхроимпульсы. Следовательно, транзистор V3 закроется. Конденсатор СЗ заряжается до напряжения источника питания, реле К1 отпускает якорь, контакты К1.1 выключают телевизор. Чтобы включить его снова, надо кратковременно разомкнуть, а потом замкнуть переключатель S1. При разомкнутых контактах S1 обмотка реле К2 обесточена и контакты К2.1 замкнуты. Конденсатор СЗ быстро разряжается через резистор R2, подготавливая устройство к следующему включению телевизора.

Трансформатор Т1 намотан на магнитопроводе Ш12 X 15; обмотка I содержит 6000 витков провода ПЭВ-2 - 0,1, а II - 600 + 600 витков ПЭВ-2 - 0,12.

Катушка L1 намотана проводом ПЭВ-1 - 0,23 на цилиндрическом бумажном каркасе с внутренним диаметром 8,5 и длиной 35 мм. Она имеет 1200 витков с отводами от (8...12)-го и 120-го витков, считая от соединенного с общим проводом вывода. Сердечник катушки - стержневой, из феррита 700 НМ диаметром 8 и длиной 50 мм.

Реле К1 - типа РКМ-1 (паспорт РС4.503.842Сп), К2 - РСМ-2 (паспорт Ю.171.81.21 или РФ.4.500.034П1).

При налаживании эмиттер транзистора сначала отключают от катушки L1 и соединяют с общим проводом. Резистор R1 подключают к аноду лампы (или коллектору транзистора) выходного каскада видеоусилителя. При приеме телепередач, перемещая сердечник внутри катушки L1, добиваются максимального напряжения на обмотке реле К1.

Затем, чтобы повысить помехозащищенность устройства и его чувствительность, вводят положительную обратную связь, подключив вывод эмиттера транзистора V3 к одному из выводов (8...12)-го витка катушки L1. Для этого сначала получают режим самовозбуждения, соединив вывод эмиттера транзистора с выводом 12-го витка катушки. О самовозбуждении будут свидетельствовать замкнутые контакты К1.1 при отсутствии видеосигнала. Затем переключают вывод эмиттера транзистора на 11-й виток, на 10-й и так далее, до срыва генерации. Далее, подав видеосигнал на контур, подбирают резистор R1* таким, чтобы на обмотке реле К1 было максимальное напряжение.

Другой автоматический выключатель состоит из двух одинаковых узлов, собранных на транзисторах V1, V4 и V13, V15. 

 

В цепи эмиттеров транзисторов V1 и V15 включены туннельные диоды V3 и V14, что обеспечивает ключевой режим работы устройства. Включение и выключение устройства задерживается конденсаторами С1 и С5.

Когда телевизор выключен, контакты К1.1 разомкнуты, а контакты К2.1 замкнуты. При включении телевизора (выключателем S1) напряжение сети поступает в его блок питания через контакты К2.1. Напряжение 6,3 В с трансформатора питания (накал ламп телевизора) выпрямляется диодами V5 и V6 (включены по схеме удвоения).

Одновременно напряжение сети подается на выпрямитель, собранный по мостовой схеме на диодах V7-V10. Напряжение с него (12 В) через делитель R5, R6 и резистор R4 заряжает конденсатор С5.

В свою очередь, как только лампы телевизора прогреются, напряжение (3-5 В) с частотного (дробного) детектора через резистор R1 начинает заряжать конденсатор С1. Так как емкость конденсатора С5 намного больше емкости конденсатора С1, последний заряжается быстрее. Проходящий через туннельный диод V3 ток быстро возрастает, и когда он достигнет 2 мА напряжение на диоде скачком увеличивается. При этом к базе транзистора V4 приложено напряжение, открывающее его до насыщения. Реле К1 срабатывает и замыкает свои контакты К1.1, блокируя контакты К2.1. В результате заряда конденсатора С5 срабатывает реле К2, размыкая контакты К2.1, однако телевизор останется включенным, контактами К1.1.

По окончании передач напряжение с дробного детектора на базу транзистора VI не будет поступать и конденсатор С1 начнет разряжаться. При этом ток через транзистор V1 и туннельный диод V3 уменьшается. Когда ток через диод V3 станет меньше тока впадины, напряжение на диоде быстро уменьшится. Транзисторы VI и V4 закроются, и реле К1 возвратится в исходное состояние, разорвав контактами К1.1 цепь питания: телевизора. Реле К2 останется включенным до тех пор, пока владелец телевизора не выключит выключатель S1.

Реле К1 и К2 - типа РЭС-9 (паспорт РС4.524.201П2); для более надежной работы две группы контактов реле соединены параллельно. Вместо РЭС-9 можно применить реле РЭС-22 (паспорт РФ4.500.131П2).

Транзисторы КТ603Е можно заменить на КТ315, КТ312, МП35 - МП38 с любым буквенным индексом. Если с частотного детектора снимается отрицательное напряжение, то транзисторы VI, V4 должны быть р-n-р структуры (например, МП40 - МП42); при этом нужно поменять полярность включения диодов V2, V3, V5, V6, а также конденсаторов С1-СЗ.

Налаживание устройства несложно. Важно лишь так подобрать резисторы R2* и R3*, чтобы надежно срабатывали реле К1 и К2.
Обсудить эту статью на форуме (0 ответов).
Вся информация, предоставленная на данном ресурсе разрешена к ознакомлению детям школьного возраста. Все практическое использование может быть связана с повышенной электрической опасностью и разрешено детям только под присмотром взрослых.