Прибор для проверки зрения

Диагностически удобным признаком, позволяющим судить о состоянии зрения, является способность глаза замечать быстрые изменения тестовой «картинки» [4]*.

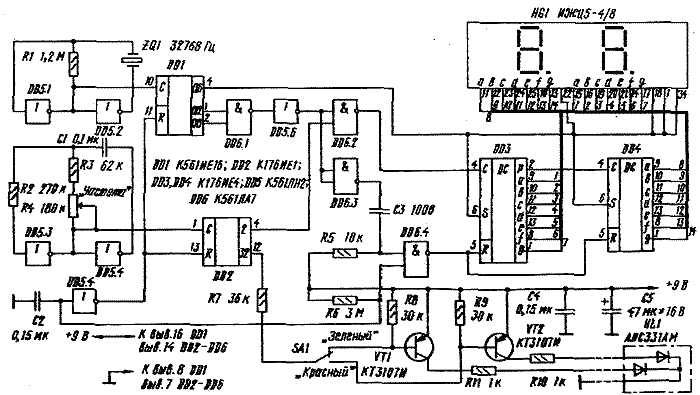
На рис. 122 приведена принципиальная схема светогенератора, формирующего красно-черные и зелено-черные меандры (светодиод АЛС331АМ) различной частоты, которая тут же и измеряется.

Задающий генератор прибора выполнен на элементах DD5.3, DD5.4, R3, R4, С1. Он возбуждается на частоте Fз@1/2(R3+R4)C1. Счетчик DD2 понижает F в 4 раза - этот сигнал (выв. 4) поступает на измерительный блок DD3, DD4, HG1 - и в 64 раза (сигнал на выв. 12) - до рабочей частоты самого светогенератора.
Рис. 122. Прибор для проверки зрения

Рис. 122. Прибор для проверки зрения

Интервал времени, на котором производится измерение частоты, - 64 мс. Он формируется генератором, частота которого задана и стабилизирована кварцевым резонатором ZQ1 (DD5.1, DD5.2 и др.). Счетчиком-делителем DD1 эта частота понижается до величины,

 

при которой на выходе Q12 DDL возникает «единичный» импульс нужной длительности**.

Легко видеть, что измеряемая частота в 16 раз выше частоты следования самих «световых» меандров. Это позволило ускорить измерение, сделать его следящим (задержка менее 0,25 с).

При включении прибора все его счетчики устанавливаются в нулевое состояние импульсом, длительность которого близка R6-C2sO,5 с. Каждое элементарное измерение частоты начинается с появления на выходах Q12 и Q13 счетчика DD1 стартовой комбинации «11». Ее фронтом счетчики DD3 и DD4 устанавливаются в нулевое состояние (длительность импульса на их R-входах - R5·C3@10 мкс), а на входе элемента DD6.2 появляется сигнал «1», разрешающий счет. Это будет длиться до тех пор, пока на выходе Q12 не возникнет «0» (это произойдет через 64 мс). С этого момента и до начала следующей стартовой комбинации на табло HG1 будет демонстрироваться результат только что проведенного измерения. (Введение в стартовую комбинацию сигнала с выхода Q13 позволило увеличить длительность показа на табло результата измерения втрое.)

Переключателем SA1 устанавливают цветность меандра: либо «красно-черный», либо «зелено-черный». Яркость свечения светодиода в обоих этих режимах устанавливают (если это представляется нужным) подбором сопротивления резисторов R10 и R11.

Все постоянные резисторы в приборе - типа МЛТ-0,125; переменный R4 - линейный (тип А), с удобной ручкой . Конденсаторы С1...С4 - КМ-6 или им подобные, С5 - К50-35 и др. Транзисторы VT1, VT2 - практически любые p-n-p. Поскольку один из элементов микросхемы DD6 здесь не используется, его входы нужно соединить с «+» источника питания или с «землей».

Из четырех разрядов табло ИЖЦ5-4/8 здесь используются лишь два. Это может быть, конечно, любая пара, но лучше смотрятся смежные разряды (на рис. 122 закоммутированы два младших разряда этого табло).

Светодиод HL1 рекомендуется сделать выносным, смонтировав его в глубине зачерненной воронки, которую прикладывают к глазу так, чтобы светодиод оказался бы в поле центрального зрения. (Периферическое зрение, обладающее, кстати, значительно меньшей инерционностью, относится к другим «сферам» зрительного тракта и особого интереса здесь не представляет.)

Инерционность нормального глаза довольно мала: красные мелькания светодиода он перестает замечать лишь на частотах 40...42 Гц, зеленые - еще на 2...3 Гц выше. Понижение частоты, при которой глаз перестает замечать мелькания, до 35...30 Гц и значительное расхождение частот для красного и зеленого - повод для обращения к врачу.


--------------------------------------------------------------------------------

*) Мы не касаемся здесь, конечно, медицинских аспектов этой диагностики.

**) На самом деле здесь был бы нужен импульс длительностью 62,5 мс (1/16 с). Но ошибка (+2,5%) достаточно мала и мы ею пренебрегаем.

Обсудить эту статью на форуме (0 ответов).
Вся информация, предоставленная на данном ресурсе разрешена к ознакомлению детям школьного возраста. Все практическое использование может быть связана с повышенной электрической опасностью и разрешено детям только под присмотром взрослых.