
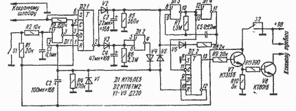
После включения питания переключателем S2 начинает заряжаться конденсатор С2 через резистор R4. Напряжение с этого резистора подается на вход инвертора D1.1 и на входы триггеров D2.1 и D2.2. Триггеры установятся в нулевое состояние.
От уровня "1" с инверсного выхода 2 триггера D2.1 через диоды V2 и V3 заряжаются конденсаторы СЗ и С4. В то время, пока заряжается конденсатор С2, замыкание сторожевых контактов S1 не изменит состояния устройства. Окончание заряда конденсатора С2 соответствует подаче уровня "0s" на вход элемента D1.1 и R-входы триггеров D2.1 и D2.2 и переходу устройства в дежурный режим. Время выдержки после включения - около 20 с.
Теперь замыкание контактов S1 вызовет появление уровня "1" на выходе элемента D1.1. Фронт этого импульса переключит триггер D2.1, так как на его R-входе уже нет удерживающего напряжения. Конденсаторы СЗ и С4 начнут разряжаться через резисторы R5 и R6 соответственно. Уменьшение до нуля напряжения на верхнем (по схеме) входе элемента D1.3 повлечет за собой включение мультивибратора, собранного на двух элементах D1.3 и D1.4 ИЛИ-НЕ с времязадающим конденсатором С5. С выхода элемента D1.3 импульсы поступают на счетный вход триггера D2.2.
С выхода триггера сигналы подаются на базу транзистора V7, включенного эмиттерным повторителем. С нагрузочного резистора R10 импульсное напряжение поступает на выходной каскад на транзисторе V8, нагрузкой которого служит источник звукового сигнала. Частота включения звукового сигнала - около 0,5 Гц. Время с момента замыкания контактов S1 до момента включения тревожных сигналов (т. е. время разряда конденсатора С2) - 8 с, время подачи прерывистого тревожного сигнала - около 3 мин.
Уменьшение до нуля напряжения на конденсаторе С4 приведет к появлению на выходе инвертора D1.2 уровня "1", который через диод V4 воздействует на R-входы триггеров D2 1 и D2.2. Триггеры установятся в нулевое состояние, и конденсаторы СЗ и С4 вновь зарядятся. На выходе инвертора D1 2 опять установится уровень "0". Таким образом, через 3 мин устройство возвратится в дежурный режим.
Кроме нормально разомкнутых сторожевых контактов S1 в устройстве предусмотрен датчик, работающий на обрыв цепи. Конструктивно он выполнен в виде охранного провода-шлейфа. При обрыве шлейфа на R-входе триггера D2.1 появляется уровень "1", и он устанавливается в единичное состояние. После того, как разрядится конденсатор С3, включается мультивибратор. Устройство подает прерывистый сигнал тревоги, который будет звучать неограниченно долго с небольшими промежутками. Для возврата устройства в дежурный режим необходимо восстановить цепь шлейфа, что вызовет разряд конденсатора С4. Сопротивление шлейфа не должно превышать 10 кОм. Если его выполнить из медного провода диаметром 0,1 мм, длина его может достигнуть 3000 м.