Кодовый выключатель

Предлагаемая схема может найти применение в любых устройствах, где требуется ограничить доступ посторонних к переключению режимов. В зависимости от того, что подключено на выходе схемы (электромагнит, реле, сигнализация и т. д.), назначение может быть самым разным, например отключение режима охранной сигнализации.

В простейшем варианте, совместно с электромагнитом, схема может быть использована в качестве кодового замка. Его открывание производится набором известного ограниченному кругу лиц кода. Код состоит из 4 цифр (из 10 возможных). Кнопки с определенными цифрами необходимо нажать в заданной последовательности. Это позволяет иметь не менее 5040 возможных вариантов кода.

Код легко и оперативно можно сменить, переставив зажимы проводов с кнопками в любой последовательности. При установке кода нежелательно занимать цифры последовательного ряда (1, 2, 3, 4). Лучше, если код будет состоять из цифр вразброс, например: 9, 3, 5, 0.

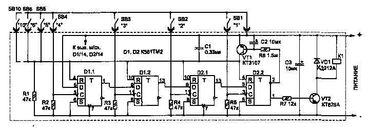
Схема кодового устройства собрана на двух микросхемах КМОП серии 561 ТМ2 (возможна замена на 564ТМ2). что обеспечивает высокую надежность и экономичность работы. Потребление схемой микротока позволяет легко выполнить, при необходимости, автономное питание. По дойдет любой, даже не стабилизированный источник постоянного напряжения 4...15 В.

Работает электрическая схема следующим образом. В начальный момент, при подаче питания, цепь из конденсатора С1 и резистора R1 формирует импульс обнуления триггеров (на выходах 1 и 13 микросхем будет лог. "0").

 

При нажатии на кнопку первой цифры кода (на схеме ≈ SB4), в момент ее отпускания триггер D1.1 переключится, т. е. на выходе D1/1 появится лог. "1", так как на входе D1/5 есть лог. "1".

При нажатии очередной кнопки, если на входе D соответствующего триггера имеется лог. "1", т. е. предыдущий сработал, то лог. "1" появится и на его выходе.

Последним срабатывает триггер D2.2 , а чтобы схема не осталась в таком состоянии надолго, используется транзистор VT1. Он обеспечивает задержку обнуления триггеров. Задержка выполнена за счет цепи заряда конденсатора С2 через резистор R6. По этой причине на выходе D2/13 сигнал лог. "1" будет присутствовать не более 1 секунды. Этого времени вполне достаточно для срабатывания реле К1 или электромагнита. Время, при желании, легко можно сделать значительно больше, применив конденсатор С2 большей емкости.

В процессе набора кода нажатие любой ошибочной цифры обнуляет все триггеры. Если сигнал управления транзистором VT1 снимать с выхода не последнего триггера (например с вывода D2/12), то будет ограничено необходимое время на нажатие цифр кода. В этом случае даже при правильном, но медленном наборе кода выходной сигнал не появится.

Размещается схема вблизи кнопочной панели.

Все используемые детали, за исключением транзистора VT2, могут быть любого типа. Транзистор VT2 применен с большим коэффициентом усиления, и в случае использования в качестве нагрузки вместо реле электромагнита его нужно заменить на более мощный из серии КТ827.

Для открывания защелки дверного замка лучше использовать не электромагнит, а электромоторчик с редуктором. Такие узлы используются в составе автомобильных сигнализаций для автоматической блокировки дверей (их можно приобрести в магазине). Они потребляют небольшой ток (60...150 мА от 12 В) по сравнению с электромагнитом и позволяют иметь источник питания небольшой мощности, что особенно важно для автономного питания.
Обсудить эту статью на форуме (0 ответов).
Вся информация, предоставленная на данном ресурсе разрешена к ознакомлению детям школьного возраста. Все практическое использование может быть связана с повышенной электрической опасностью и разрешено детям только под присмотром взрослых.