Металлоискатель

Металлоискатель предназначен для обнаружения металлического предмета (крышка колодца, отрезок трубы, скрытая проводка).

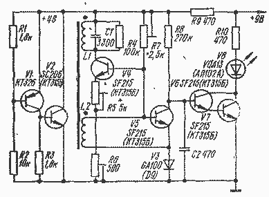
Металлоискатель состоит из параллельного стабилизатора напряжения (транзисторы VI, V2), генератора высокой (около 100 кГц) частоты на транзисторе V4, детектора ВЧ колебаний (V5) и усилителя постоянного тока (V6, V7) с индикатором на светодиоде V8.

Высокочастотное напряжение с катушки связи L2 выпрямляется эмиттерным переходом транзистора V5. Этот транзистор при работе генератора будет открыт, а транзисторы V6, V7 закрыты. Светодиод V8 не светится. Если приблизить какой-либо металлический предмет к катушке LI, то колебания генератора сорвутся, транзистор V5 закроется, V6, V7 - откроются, а светодиод начнет светиться. Катушки LI, L2 наматывают виток к витку на круглом ферритовом стержне от магнитных антенн транзисторных радиоприемников. Они содержат соответственно 120 и 45 витков провода ПЭВ-2 диаметром 0,3 мм. Чем длиннее стержень, тем чувствительность металлоискателя выше.

При налаживании прибора резисторами R5, R7 (движок резистора R6 в среднем положении) устанавливают режим работы генератора таким, чтобы он был на грани возбуждения (светодиод еще светится). Далее движок резистора R6 ставят в такое положение, когда светодиод погаснет. Если теперь приблизить ферритовый стержень к металлическому предмету, светодиод вспыхнет снова. Эту операцию следует повторить несколько раз, стремясь найти такие положения движков подстроечных резисторов R5 и R7, при которых достигается максимальная чувствительность прибора.

Обсудить эту статью на форуме (0 ответов).
Вся информация, предоставленная на данном ресурсе разрешена к ознакомлению детям школьного возраста. Все практическое использование может быть связана с повышенной электрической опасностью и разрешено детям только под присмотром взрослых.