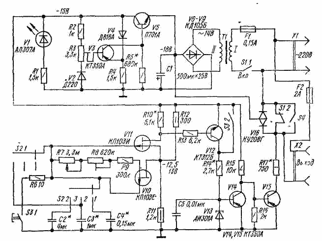
Реле времени для фотопечати

Устройство содержит времязадающий каскад на транзисторе V11 со стабилизатором микротока на транзисторе V10, пороговый усилитель на транзисторах V12, V14 и туннельном диоде V13 и выходной каскад на транзисторе V15, который управляет симистором V16.

Основные параметры Диапазон выдержек времени, с:
I 1...6
II 5,5...33
III 31...186
Стабильность выдержки, % 2
Потребляемая мощность, Вт 2,5

Реле питается от стабилизатора напряжения на транзисторах V3 и V5. Индикатор включения напряжения питания выполнен на светодиоде V1.

К сети реле времени подключают тумблером S1. Для смены кадров фотоувеличитель включают выключателем S4. При выключенном положении тумблера S1 его контакты S1.2 шунтируют симистор V16, и напряжение сети поступает непосредственно на фотоувеличитель.

Диапазон выдержек времени устанавливают переключением конденсаторов С2* - С4*, а выдержку времени в каждом диапазоне изменяют переменным резистором R7. При нажатии на кнопку S3 конденсатор времязадающей цепи разряжается через контакты кнопки S3.1 и резистор R6. При замыкании контактов кнопки S3 затвор транзистора V10 оказывается подключенным к общему проводу. Относительно истока затвор находится под значительным закрывающим напряжением. Замкнутые контакты S3.2 обеспечивают такой режим туннельного диода V13 и каскадов на транзисторах V14, V15, при котором симистор V16 закрыт.

Выдержка времени начинается после отпускания кнопки S3. Симистор V16 открывается и включает лампу фотоувеличителя. Одновременно конденсатор времязадающей цепи начинает заряжаться через делитель напряжения R11,R12 и стабилизатор микротока. По мере заряда конденсатора напряжение между затвором и истоком транзистора V11 уменьшается. При достижении им напряжения отсечки, транзистор открывается. С резистора R10* времязадающего каскада напряжение поступает на базу транзистора V12 порогового усилителя и открывает его. Его коллекторный ток проходит через туннельный диод V13, и при значении этого тока, большем тока пика, диод переходит во второе устойчивое состояние, при котором напряжение на нем скачком возрастает. Транзистор V14 открывается, a V15 закрывается. Ток через управляющий электрод симистора V16 прекращается, и симистор выключает фотоувеличитель.

В устройстве диоды КД105Б (V6 - V9) могут быть заменены любыми выпрямительными диодами (Д7, Д226). Вместо диода Д220 (V2) можно использовать любой кремниевый. Стабилитрон Д818А (V4) можно заменить на любой из группы Д818 (Б - Е) или Д808-Д814. Вместо светодиода АЛ307А (V1) можно включить любой светодиод. Транзистор П701А (V5) заменяют любым кремниевым средней или большой мощности с коэффициентом передачи тока не менее 20. Транзистор КП103И (V11) заменяют КП103Ж.

Транзистор КТ312Б (V12) можно заменить любым маломощным кремниевым структуры n-р-n с коэффициентом передачи тока не менее 20 (например, серий КТ315, КТ201). Вместо транзисторов КТ350A (V3, V14) можно использовать транзисторы серий МП115, МП116, КТ326 с к коэффициентом передачи тока не менее 25. Транзистор V15 может быть заменен любым кремниевым или германиевым, имеющим допустимое напряжение между коллектором и эмиттером не менее 20 В и коэффициент передачи тока не менее 30 (например, МП40А, МП21, МП25).

Вместо туннельного диода АИ301А (V13) можно применить любой арсенид-галлиевый переключающий или усилительный туннельный диод с током пика 2 ..5 мА. Возможно применение и германиевых диодов (например, серий ГИ302, ГИ304). Однако в этом случае транзистор V14 также должен быть германиевым (например, МП42). При установке диода с пиком тока больше 2 мА транзистор V12 должен иметь коэффициент передачи тока значительно больший 20.

Обсудить эту статью на форуме (0 ответов).
Вся информация, предоставленная на данном ресурсе разрешена к ознакомлению детям школьного возраста. Все практическое использование может быть связана с повышенной электрической опасностью и разрешено детям только под присмотром взрослых.