Сигнализатор уровня шума - устройство, реагирующее на достижение уровня шума в помещении выше допустимого. |
![]() |
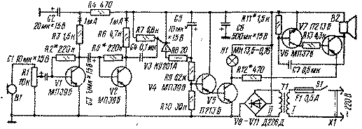
В качестве датчика использован микрофон В1. На транзисторах VI и V2 собран усилитель. Пороговое устройство выполнено на тиристоре V3. Порог срабатывания тиристора устанавливается переменным резистором R1. Как только звуковой сигнал превысит некоторый пороговый уровень, откроется тиристор, одновременно с ним откроются транзисторы V4, V5, подавая питание на сигнальную лампу и на звуковой генератор, собранный на транзистора* V6 и V7. Режим сигнализации сохраняется до тех пор, пока не разрядится конденсатор С5 через резистор R8 и открытый тиристор.
|
![]() |
Как только сигнал на входе порогового устройства, со- бранного на транзисторах V5 и V6, достигнет определенного уровня (порог срабатывания задается резистором R3), закроется диод V3, а вслед за ним - транзистор V5. Это приведет к закрыванию транзистора V10, в коллекторную цепь которого включено реле К1. Реле обесточивается, и его нормально замкнутые контакты подключают сигнальное табло (лампы HI-Н20). Время сигнализации определяется постоянной времени цепи С8, R10, R11, К1.
|
Сигнализатор
Doc
Просмотров: 5150

