Терморегулятор на тиристоре

Предназначен для поддержания постоянной температуры воздуха в небольшом помещении, температуры воды в аквариуме и т. п.
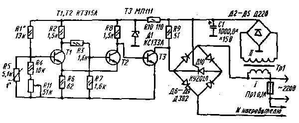
Мощность нагревателя до 500 Вт. Терморегулятор состоит из порогового устройства (T1,T2), элекронного реле (T3, Д10) и блока питания. Датчиком температуры служит терморезистор R5.
При заданной температуре транзистор T1 закрыт, а T2 открыт. Транзистор T3 и тиристор Д10 закрыты, а нап ряжение на нагреватель не поступает. При уменьшении температуры сопротивление терморезистора увеличивается, растет напряжение смещения на базе транзистора Т1. Как только оно достигнет порога срабатывания, транзистор Т1 откроется, а Т2 закроется. Это при ведет к открыванию транзистора Т3 и тиристора Д11. Напряжение сети через этот тиристор и диоды Д6-Д9 поступит на нагреватель. При достижении заданной температуры переходит в ждущий режим. Резистором R11 устанавливаются пределы регулировки температуры. Трансформатор TP1 собран на сердечнике Ш12 X 25, обмотка I имеет 8000 внтков провод: ПЭВ-1 диаметром 0,t мм, а обмотка
II - 70 витков провода ПЭВ-1 диаметром 0.4 мм. Резистор R5-типа ММТ-4.

Обсудить эту статью на форуме (0 ответов).
Вся информация, предоставленная на данном ресурсе разрешена к ознакомлению детям школьного возраста. Все практическое использование может быть связана с повышенной электрической опасностью и разрешено детям только под присмотром взрослых.