Цифровое реле времени

Цифровое реле времени построено на цифровом принципе и позволяет получать большие выдержки с высокой стабильностью .

После нажатия кнопки S1 переключается триггер на элементах D1.1 и D1.2, уровень "1" на выходе элемента D1.1 разрешит прохождение тактовых импульсов через элемент D2.1. Первый же из них переключит триггер-формирователь выходного сигнала на элементах D1.3 и D1.4 в единичное состояние и через элемент D3.1 поступит на счетчик, после чего начнется отсчет времени.

Триггерный счетчик на микросхемах D4-D10 и элемент D2.2 работают в режиме вычитания. Требуемое время выдержки получают, устанавливая в нужные положения переключатели S2-S7 (сумма чисел, соответствующих положениям переключателей, составляет время выдержки в периодах следования тактовых импульсов)

Уровень "0", возникающий на выходе элемента D11 после окончания времени выдержки, устанавливает триггеры на микросхеме D1 в нулевое состояние. При этом тактовые импульсы перестают проходить через элемент D2.1, а на выходе элемента D3.2 сформируется уровень "0", который переключит все триггеры счетчика в нулевое состояние.

Импульс положительного напряжения с выхода элемента D1.3 подается на базу транзистора V2, в цепь коллектора которого включено реле К1. Контакты реле К1.1 включают лампу фотоувеличителя или другое исполнительное устройство.

Транзистор V2 и его напряжение питания выбирают в зависимости от параметров устанавливаемого реле К1. В данном случае могут быть использованы реле РЭС-9 (паспорт РС4.524 202П2 или РС4 524 215П2), РЭС-10 (паспорт РС4.524. 303П2 или РС4.524.312П2) и т. п. Контакты реле должны быть рассчитаны на напряжение и ток управляемой цепи. Сопротивление резистора R3*, обеспечивая режим насыщения транзистора, должно быть не менее 6,2 кОм.

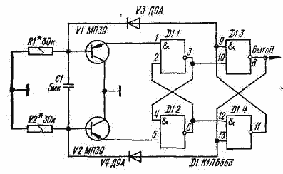
Схема простого задающего генератора, представляющего собой мультивибратор, изображена на следующем рисунке.

При указанной на схеме емкости конденсатора С1 частота импульсов 1 с. Более точно частоту получают подбором одного из резисторов R1* или R2*.

Обсудить эту статью на форуме (0 ответов).
Вся информация, предоставленная на данном ресурсе разрешена к ознакомлению детям школьного возраста. Все практическое использование может быть связана с повышенной электрической опасностью и разрешено детям только под присмотром взрослых.