Электронный акустический автомат

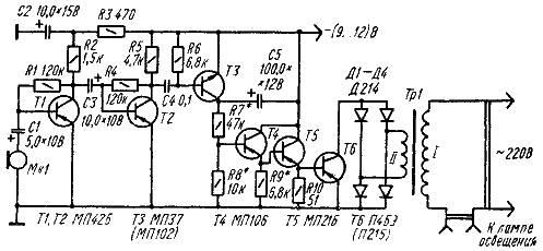
Он состоит из приемника звуковой энергии - микрофона типа ДЭМШ, усилителя НЧ на транзисторах Т1-ТЗ, составного эмиттерного повторителя (Т4, Т5) и магнитно-транзисторного выключателя, состоящего из транзистора Т6 и трансформатора Tpl. Если последовательно с нагрузкой, например осветительной лампой, питаемой от сети, включить первичную обмотку трансформатора Tpl, то ток, протекающий через обмотку и нагрузку, будет относительно мал (50...80 мА). Это происходит от того, что обмотка имеет значительное индуктивное сопротивление. Если вторичную обмотку замкнуть накоротко, индуктивное сопротивление первичной обмотки резко уменьшится и ток, протекающий через нагрузку, будет определяться в основном ее активным сопротивлением. Роль замыкателя вторичной обмотки выполняет мощный транзистор T6. Этот транзистор открывается при поступлении в микрофон звукового сигнала. Ток через нагрузку уменьшится тогда, когда конденсатор С5 зарядится при поступлении второго звукового сигнала. Трансформатор Tpl имеет сердечник Ш 3О X 25 мм (для нагрузки до 100 Вт). Обмотка I имеет 1350 витков, а обмотка II - 270 витков провода ПЭВ-2 диамет╜ром 0,47 мм. Транзистор Т6 снабжен радиатором с площадью поверхности 140 см2.

 

Обсудить эту статью на форуме (0 ответов).
Вся информация, предоставленная на данном ресурсе разрешена к ознакомлению детям школьного возраста. Все практическое использование может быть связана с повышенной электрической опасностью и разрешено детям только под присмотром взрослых.