Описания конструкций для автоматического включения и выключения освещения в зависимости от естественной освещенности неоднократно публиковались в различных изданиях, например [1, 2]. В качестве коммутирующего элемента в устройствах использовались либо электромагнитные реле, либо тиристор. В предлагаемой конструкции эту функцию выполняет симистор. Благодаря тому, что его работа не зависит от полярности приложенного напряжения, отпадает необходимость в мощном двуполупериодном выпрямителе. Это позволяет упростить конструкцию автомата и уменьшить его габариты. Предлагаемое устройство рассчитано на управление источниками света общей мощностью до 400 Вт. 
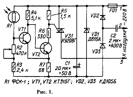
Фотореле (рис.1) состоит из датчика освещенности (R1), порогового устройства, выполненного по схеме триггера Шмитта (VT1, VT2), и коммутирующего элемента (VS1). Фоторезистор R1 вместе с резисторами R2 и R3 образуют делитель напряжения, который определяет ток базы транзистора VT1. В дневное время суток, когда фоторезистор освещен, его сопротивление сравнительно невелико, поэтому транзистор VT1 открыт и насыщен, а VT2 закрыт. Коллекторный ток транзистора VT2, а следовательно, и ток управляющего электрода симистора практически равны нулю. Симистор, таким образом, закрыт, и ток через нагрузку не протекает.
С уменьшением освещенности сопротивление фоторезистора возрастает, и ток базы транзистора VT1 начинает уменьшаться. При достижении определенного значения транзистор VT1 выходит из насыщения и начинает закрываться. Увеличивающееся падение напряжения на резисторе R7 ускоряет закрывание транзистора VT1 и открывание VT2. Ток управляющего электрода симистора, протекающий через открытый транзистор VT2 и резисторы R6, R7, поддерживает симистор открытым на протяжении обоих полупериодов сетевого напряжения. Следовательно, лампы сразу начинают светить в полный накал. Процесс выключения фотореле происходит в обратном порядке. Порог срабатывания фотореле устанавливают переменным резистором R2, а резистор R3 служит для ограничения тока делителя при попадании на фотоприемник прямых солнечных лучей. Резистор R6 определяет ток управляющего электрода симистора, который при открытом транзисторе VT2 должен быть больше тока включения симистора, но меньше допустимого коллекторного тока транзистора VT2. Резистор R5 уравнивает напряжение на управляющем электроде и катоде симистора, когда транзистор VT2 закрыт. Это обеспечивает надежное выключение симистора и помехоустойчивость фотореле в целом.
В устройстве использованы постоянные резисторы МЛТ, подстроечный ≈ СП2-3. Конденсатор С1 ≈ любой малогабаритный, С2≈МБГО-2. Транзисторы VT1 и VТ2≈КТ315Г или КТ315Е с коэффициентом передачи тока не менее 60.
Устройство собрано в круглой пластмассовой разветвительной коробке, предназначенной для наружной проводки. Все элементы смонтированы на круглой печатной плате из одностороннего фольгированного стеклотекстолита толщиной 1,5 мм. Чертеж платы и расположение деталей на ней изображены на рис. 2. Резистор R5 распаян непосредственно на выводах симистора, а резистор R6 ≈ между выводом управляющего электрода и платой. Катоды стабилитрона VD1 и

симистора соединены между собой и с платой навесным проводником. Резьбовые выводы анода этих деталей необходимо укоротить так, чтобы они не выступали за пределы крепежных гаек. Фоторезистор своими выводами вставляют во впаянные в плату трубчатые стойки высотой 25 мм так, что под ним освобождается место для монтажа других деталей. В качестве стоек использованы гнезда соответствующего диаметра от штыревого разъема.
Провода сети и цепи нагрузки крепят в винтовых зажимах, подобных тем, что используют в телефонных аппаратах. Зажимы впаивают в плату в четырех точках каждый. Распределительную коробку следует выбрать со светлой полупрозрачной крышкой, чтобы не вырезать специального окна для фоторезистора.
Устройство, собранное безошибочно и из элементов с указанными на схеме типономиналами, в налаживании не нуждается, необходимо только установить порог срабатывания. Монтируют фотореле в таком месте, чтобы свет от ламп, которыми оно управляет, не попадал на фотоприемник. Во избежание попадания в коробку воды и посторонних предметов входной патрубок ее должен быть направлен вниз, а крышку после установки герметизируют водостойким лаком или клеем.
Необходимо помнить, что все элементы устройства находятся под напряжением сети, поэтому при ремонте и регулировке следует строго соблюдать правила техники безопасности.
А. ИВАЩЕНКО, Н. КОТЕЛЕНЕЦ г. Чернигов
ЛИТЕРАТУРА
1. Македон В. Автомат включения освещения. - Радио, 1974, ╧ 9, с. 53.
2. Боровский В. П└ Костенко В. И., Михайленко В. М., Партала О. Н. Справочник по схемотехнике для радиолюбителя.≈ К.: Техника, 1987, с. 113