Автомат световых эффектов

 

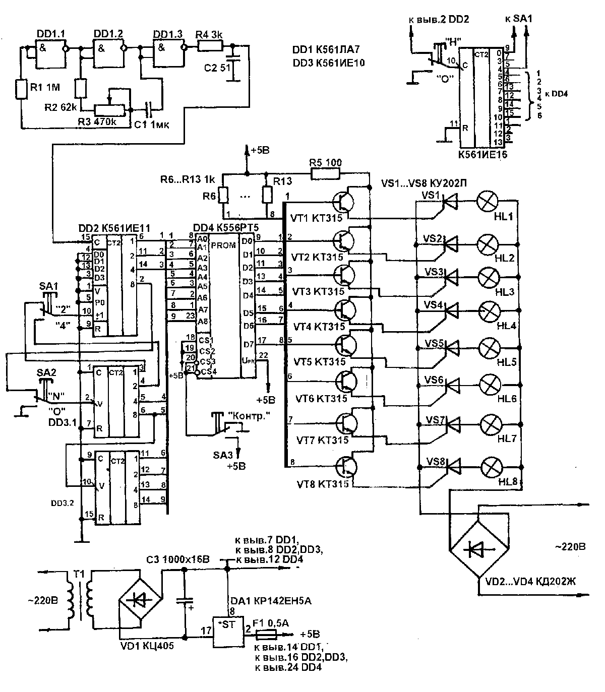
В данном автомате путем использования входа 1 DD2 (К561ИЕ11) удалось получить более 100 световых программ при четырех ИМС.

http://www.radio-portal.ru/https://radio-portal.su/cache/s9601-11~_images_stories_pictures_thumb_medium600_0.png

http://www.radio-portal.ru/images/stories/pictures/s9601-11~.png


Работает автомат следующим образом. С генератора прямоугольных импульсов (частота импульсов изменяется резистором R3) сигнал поступает на вход С DD2. Счетчик DD2 начинает выбирать код программы. С приходом восьмого импульса с DD2 (вывод 2) импульс поступает на DD3 ≈ счетчик программ. После прихода двух импульсов на DD3 с его вывода 3(4) (в зависимости от положения SA1) логическая "1" подается на вход ╠1 DD2. DD2 изменяет направление счета на противоположное. Таким образом, одна программа повторяется три раза, затем происходит автоматически ее реверс и далее идет следующая программа. В КР556РТ5 512 адресов, одна программа занимает восемь адресов, 512:8 = 64. Таким образом, учитывая автоматический реверс каждой программы, получаем более 100 различных программ. При необходимости увеличения количества повторений программ можно использовать вместо DD3 (К561ИЕ10) К561ИЕ16 с изменением печатной платы. Вместо генератора можно попробовать подключить устройство выделения ударного инструмента из звукового сигнала [2]. SA2 нужен для остановки понравившейся программы, SA3 ≈ для контроля ламп, SA1 ≈ для реверса (повторение 1 или 3 раза). Чертеж печатной платы приведен здесь, а схема расположения деталей - здесь.


Литература
1. Саковец А. Автомат световых эффектов/Радиолюбитель. ≈ 1993. ≈ N6. ≈ С.22.
2. Скулкин И. Устройство выделения ударного инструмента из звукового сигиала//Радиолюбитель. ≈ 1994. ≈ N10. ≈ С23.

 

Обсудить эту статью на форуме (0 ответов).
Вся информация, предоставленная на данном ресурсе разрешена к ознакомлению детям школьного возраста. Все практическое использование может быть связана с повышенной электрической опасностью и разрешено детям только под присмотром взрослых.