Измеритель влажности с емкостным датчиком

Емкость конденсатора зависит от диэлектрика, находящегося между его пластинами. Для выбранного сыпучего материала (зерно, сахар, изюм, строительные материалы и др.) емкость конденсаторного датчика зависит от влажности материала.

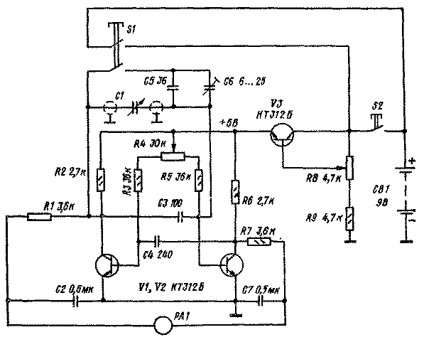
/images/stories/pictures/ss0020.pngИзмеритель позволяет оценить влажность сыпучих материалов и содержит задающий генератор, выполненный по схеме мультивибратора на транзисторах VI, V2, измерительную цепь, калибратор и датчик. Датчик емкостного типа С1 подключен параллельно конденсатору СЗ. Балансируется мультивибратор резистором R4 по нулевому показанию стрелки прибора РА1. При увеличении емкости датчика С1 нарушается симметрия мультивибратора и стрелка измерительного прибора отклоняется. Калибровка прибора осуществляется с помощью регулятора напряжения на транзисторе V3, для этого при нажатой клавише S1 резистором R9 устанавливают стрелку на последнее деление шкалы.

Датчик состоит из двух пластин одностороннего фольгированного текстолита размером 105 X 40 мм, разнесенных на 15 мм. Слой фольги на пластинах удален от краев пластины на 3 мм. Градуировку прибора производят по промышленному прибору или путем пробных измерений массы материала в процессе сушки.

Детали. Транзисторы типа КТ315, КТ312, КТ306 или сборка К125НТ1 с коэффициентом передачи больше 70; конденсаторы слюдяные, бумажные, пленочные с малым ТКЕ; измерительный прибор со шкалой 100 мкА.

Обсудить эту статью на форуме (0 ответов).
Вся информация, предоставленная на данном ресурсе разрешена к ознакомлению детям школьного возраста. Все практическое использование может быть связана с повышенной электрической опасностью и разрешено детям только под присмотром взрослых.