Измеритель емкости на ОУ

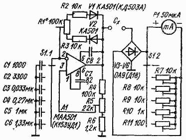
Принцип действия измерителя емкости конденсаторов от нескольких пикофарад до 5 мкФ основан на измерении переменного тока, протекающего через исследуемый конденсатор (рис. VII.2).

/images/stories/pictures/r7-2.pngПеременный ток прямоугольной формы вырабатывает генератор на операционном усилителе А1. Частота повторения импульсов, выдаваемых генератором, зависит от емкости одного из конденсаторов С1-С6 и положения движка переменного резистора R5. В зависимости от поддиапазона измерений она изменяется от 100 Гц до 200 кГц. Подстроечным резистором R1* симметрируют форму прямоугольных колебаний на выходе генератора. Для того чтобы погрешность измерений на самом первом поддиапазоне (50 пФ) не превышала 10 %, внутреннее сопротивление прибора должно быть не менее 3 кОм.

Требуемый диапазон измерений устанавливают переключателем S1. Питается измеритель емкости от стабилизированного двуполярного источника напряжением ╠8...15 В. Номиналы частотозадающих конденсаторов С1-С6 могут отличаться от указанных на схеме на ╠20%, однако должны иметь высокую температурную и временную стабильность. Градуировку прибора проводят по эталонным конденсаторам. Поскольку переменное напряжение на выходе генератора двуполярное, измерять этим прибором емкость электролитических конденсаторов нельзя.

Обсудить эту статью на форуме (0 ответов).
Вся информация, предоставленная на данном ресурсе разрешена к ознакомлению детям школьного возраста. Все практическое использование может быть связана с повышенной электрической опасностью и разрешено детям только под присмотром взрослых.