Измеритель нелинейных искажений усилителей ЗЧ

Самостоятельно это устройство использовать нельзя, для измерений необходим генератор сигналов звуковой частоты и милливольтметр переменного тока.

Основные параметры

Частоты измерений, кГц 0,33; 1; 8; 12
Пределы перестройки частоты, % ╠20
Выходное напряжение измеряемого усилителя, Вэф 2
Нижний предел измерения нелинейных искажений, % 0,15
Погрешность измерений, % 50
Входное сопротивление, кОм 5
Коэффициент передачи, раз 2


/https://radio-portal.su/cache/r7-13_images_stories_pictures_thumb_medium600_0.png

/images/stories/pictures/r7-13.png
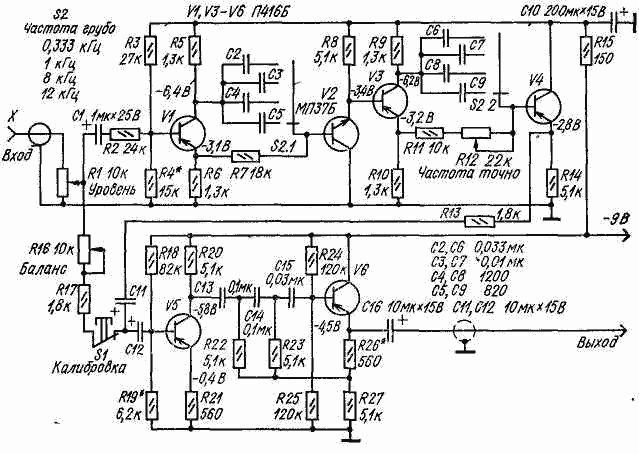
На вход измеряемого усилителя ЗЧ подают сигнал от звукового генератора, обеспечивающего небольшие (менее 1 %) нелинейные искажения. С выхода усилителя сигнал, претерпевший искажения в тракте усилителя, подают через разъем XI на вход измерителя коэффициента гармоник. Переменным резистором R1 устанавливают необходимый уровень сигнала на базах транзисторов VI и V5. Сигнал разделен на два канала: верхний по схеме канал поворачивает фазу сигнала на 180╟, нижний канал фазы не меняет. Фазовращатель собран на транзисторах VI-V4; каскады на транзисторах VI и V3 создают необходимый сдвиг фазы, эмиттерные повторители на транзисторах V2 и V4 служат для развязки между каскадами устройства.

Частоты, на которых сдвиг фазы равен 180╟, определяют емкость конденсаторов С2-С5, С6-С9 и сопротивления резисторов R7, R11, R12.

Режим работы всех транзисторов устанавливают делителем напряжения R3, R4*.

С выхода фазовращателя сигнал через резистор R13 и конденсатор СИ поступает на вход нижнего по схеме канала - усилителя (транзистор V5) с коэффициентом усиления около 5. На вход этого же усилителя через резистор R16 поступает напряжение сигнала со входа устройства - резистора R1.

Основной и вспомогательный сигнал, поданные в противофазе, но с равными амплитудами на базе транзистора V5 взаимно компенсируются по первой гармонике. Остаются только гармоники, которые и усиливаются транзистором V5. Усиленный сигнал с нагрузки V5 (резистор R20) поступает на активный фильтр верхних частот, собранный на транзисторе R6 Частота среза фильтра (200 Гц) зависит от емкости конденсаторов С13-С15 и сопротивлений резисторов R22 - R25. Крутизна спада амплитудно-частотной характеристики фильтра около 15 дБ на октаву; это означает, что наводки частотой 100 Гц этот фильтр ослабляет на 15 дБ, а фон переменного тока 50 Гц - на 30 дБ. Этого достаточно для большинства случаев измерений, встречающихся на практике.

С выхода фильтра переменное напряжение гармоник через разъем Х2 подается на вход милливольтметра. В измерителе можно применить любые высокочастотные и низкочастотные транзисторы соответствующей структуры со статическим коэффициентом передачи тока h21э=60 (при токе эмиттера 1 мА). В схеме применены конденсаторы МБМ, KM (C2-C5, С6-С9, С13-С15) и К50-6, резисторы МЛТ 0,125, переменные СП-1, кнопки S1 - КМ1-1, переключатель S2 - движковый от приемника "Сокол", переделанный на двухполосный (четыре положения).

Налаживание прибора начинают с проверки режимов транзисторов по постоянному току - они не должны отличаться от указанных более чем на ╠ 20 %. Затем настраивают фильтр на транзисторе V6 подбором резистора R26*, проверяют фазу и амплитуду сигналов прямого и повернутого на 180╟. После этого можно проводить измерения. Для этого милливольтметр переключают на предел 2В, движки переменных резисторов R16 и R12 устанавливают в среднее положение. Кнопка SJ должна быть в положении, показанном на схеме. На вход измерителя подают от звукового генератора сигнал с амплитудой 3...5 В и частотой, которая соответствует частоте измерений, установленной переключателем S2. Манипулируя переменным резистором R1 и переключателем пределов измерений милливольтметра, добиваются, чтобы стрелка прибора установилась в последней трети шкалы. Резистором R12 добиваются минимума показаний прибора, затем, резистором R16 еще больше уменьшают эти показания. После этого снова резистором R12 находят минимум, а затем устанавливают минимум опять резистором R16 и так до тех пор, пока манипуляции резисторами R12 и R16 уже не будут уменьшать показаний милливольтметра. После этого приступают к калибровке, для чего переключатель пределов милливольтметра снова устанавливают в положение 2 В и нажимают кнопку S1. Переменным резистором R1 устанавливают напряжение, возможно близкое к 2 В, затем отпускают кнопку S1 и считывают по шкале милливольтметра напряжение гармоник. Коэффициент гармоник рассчитывают по формуле

КГ = 1/2 U2*100 %.

Обсудить эту статью на форуме (0 ответов).
Вся информация, предоставленная на данном ресурсе разрешена к ознакомлению детям школьного возраста. Все практическое использование может быть связана с повышенной электрической опасностью и разрешено детям только под присмотром взрослых.