Приставка к частотомеру для определения резонансной частоты параллельного колебательного контура

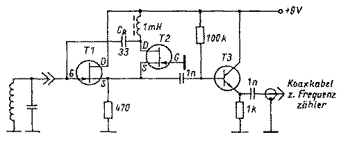
http://www.radio-portal.ru/images/stories/pictures/izm_LC-kontur1.pngПредлагается приставка к частотомеру для определения резонансной частоты параллельного колебательного контура. Его схема (рис.1) хорошо для этого подходит, т.к. для обратной связи не надо делать отвод от катушки контура. Транзисторы Т1 и Т2 (BF244C) работают в схеме автогенератора, аналогичного известной ламповой схеме с катодной связью. Каскад на ТЗ (2N708 или ВС547В) - согласующий.
Приведенная схема устойчиво работает в диапазоне 1...30 МГц. Важными являются величины индуктивности в цепи стока Т2 и конденсатора Сг в цепи обратной связи. Уменьшением индуктивности можно обеспечить измерение в 2-метровом диапазоне. Правда, при этом сильно возрастает нижняя граничная частота измерений. Для того, чтобы измерять и на KB, и на УКВ, можно ввести несколько переключаемых индуктивностей. При определении истинной частоты резонанса на УКВ необходимо учитывать также входную емкость схемы.

П.Шмидт (DJ9JFT)

Funk N4, 2001, с.29.

Обсудить эту статью на форуме (0 ответов).
Вся информация, предоставленная на данном ресурсе разрешена к ознакомлению детям школьного возраста. Все практическое использование может быть связана с повышенной электрической опасностью и разрешено детям только под присмотром взрослых.