Пробник для проверки годности операционных усилителей

Операционные усилители (ОУ) широко используются радиолюбителями в конструкциях различных радиотехнических устройств. Причем в условиях растущей дороговизны на радиоэлементы и их дефицита приходится порою применять микросхемы, которые уже использовались ранее в работе. Чтобы быть уверенным в пригодности такого ОУ, его следует проверить, например, с помощью пробника, описанного в [Л].
Однако практические испытания этого устройства показали, что при проверке некоторых серий ОУ (таких, как КР544УД1Б, К153УД2) пробник всегда сигнализирует о неисправности этих микросхем независимо от их состояния.
Проанализировав работу устройства и режимы работы ОУ, мне удалось выяснить причину такого избирательного "поведения" пробника и, устранив ее, значительно расширить номенклатуру проверяемых усилителей.
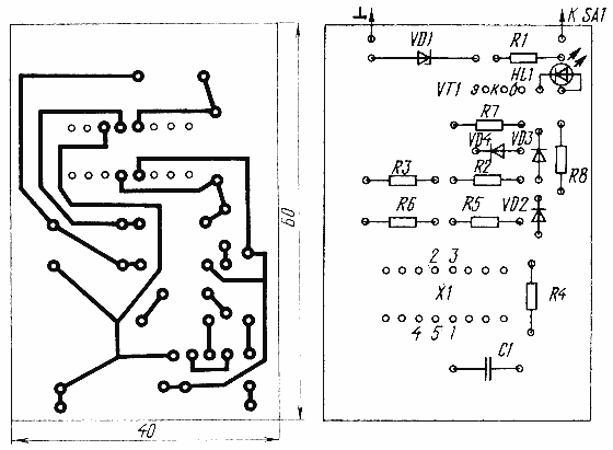
Принципиальная схема модернизированного пробника показана на рис.1. Практически он мало чем отличается от предшественника: в цепь базы транзистора VT1 включены диоды VD2-VD4, изменены значения номиналов некоторых резисторов.

Принципиальная схема

Тестируемый ОУ подключают к гнездам разъема X1 (в качестве примера показано подключение ОУ К140УД2). Такое включение образует релаксационный генератор, вырабатывающий прямоугольные импульсы (меандр) с частотой 1...2 Гц. Напряжение питания поступает на генератор с параметрического стабилизатора R1VD1.
Если ОУ окажется годным, генератор начнет работать, а светодиод HL1 - вспыхивать в такт с частотой генерируемых импульсов.
В случае, если проверяемый ОУ окажется негодным, генератор работать не будет, а светодиод, в зависимости от причины неисправности усилителя, будет либо гореть непрерывно, либо вовсе не вспыхнет.
В чем же причина того, что при испытании годных ОУ серий КР544УД1Б, К153УД2 пробником [Л] светодиод HL1 сигнализировал о неисправности усилителей?
При снятии осциллограммы в точке "а" видно, что минимальное напряжение (U2, рис.2,а) генерируемых импульсов слишком велико но абсолютному значению, чтобы закрыть транзистор структуры n-p-n (в зависимости от серии ОУ это напряжение может достигать значения 2 В): U2 > U1, где U1 - пороговое значение напряжения, при котором эмиттерный переход транзистора открывается. Поэтому, несмотря на то, что генератор работает (т.к. микросхема исправна), транзистор VT1 постоянно открыт, а светодиод HL1 горит, указывая на негодность микросхемы.

Чтобы уменьшить напряжение в точке "а", в цепь базы транзистора VT1 включены диоды VD2-VD4. Теперь осциллограмма в этой точке имеет вид, представленный на рис.2,б: минимальное напряжение генерируемых импульсов меньше порогового значения эмиттерного перехода транзистора. Транзистор будет открываться и закрываться, а светодиод вспыхивать с частотой генерируемых импульсов.
В пробнике можно применить, кроме указанных на схеме, транзисторы КТ312А-КТ312В, КТ315А, КТ315В-КТ315И, КТ503А-КТ503Е, диоды КД521А-КД521Г, КД103А, КД103Б, стабилитрон Д814 Г. Разъем X1 - монтажная панель для микросхем, тип корпуса которых 2103.16.
Детали устройства размещают на печатной плате (рис.3), выполненной из одностороннего фольгированного стеклотекстолита толщиной 1...1.5 мм.
Правильно собранный пробник не нуждается в наладке.
С помощью пробника можно проверить практически все наиболее используемые в практике ОУ, кроме тех, выходное сопротивление которых сравнимо или превышает сопротивление резистора R7, например, микромощные ОУ К140УД12, К153УД4.

ЛИТЕРАТУРА
Козлов Ф., Прилепко А. "Кубик" для проверки ОУ. - Радио. 1986, № 11, с. 59.

С. КАПУСТИН, г. Смоленск, Радио №5, 1994 г., стр.29.

Обсудить эту статью на форуме (0 ответов).
Вся информация, предоставленная на данном ресурсе разрешена к ознакомлению детям школьного возраста. Все практическое использование может быть связана с повышенной электрической опасностью и разрешено детям только под присмотром взрослых.