|
В радиолюбительской литературе описаны цифровые мультиметры с использованием микросхемы КР572ПВ2А [1, 2]. Как правило, это достаточно сложные устройства, что объясняется необходимостью использования двух источников питания, источника опорного напряжения, линейного преобразователя переменного напряжения в постоянное. Мультиметры требуют также мощного источника энергии в связи с необходимостью использования светодиодных индикаторов. Появление микросхемы КР572ПВ5А существенно упростило построение мультиметров. Эта микросхема выполняет те же функции, что и КР572ПВ2А, но специально приспособлена для работы с жидкокристаллическим индикатором. Для этой микросхемы необходим один источник питания с напряжением 7...10 В, она имеет внутренний стабилизатор опорного напряжения (такой стабилизатор есть и в КР572ПВ2А, но использовать его трудно) и стабилизатор напряжения 5 В для питания КМОП — цифровых микросхем. Ниже приведено описание простого цифрового мультиметра с микросхемой КР572ПВ5А, содержащий, кроме нее, лишь одну цифровую микросхему К561ЛП2, необходимую для управления запятыми индикатора. Упрощение устройства достигнуто также за счет отказа от измерения переменных напряжений и токов.
Прибор обеспечивает измерение постоянного напряжения (в вольтах) и тока (в миллиамперах), а также сопротивления (в килоомах) в пяти диапазонах с верхними пределами 0,199, 1,999, 19,99 199,9 1999. Погрешность измерений ± ( 0,2 % — 1 младшего разряда) . Входное сопротивление вольтметра — 11 МОм, падение напряжения при измерении тока не превышает 0,2 В. Питается мультиметр от батареи «Крона» или аккумулятора 7Д-0,115, потребляемый ток — около 1,6 мА, на пределе 0,199 омметра он увеличивается на 1 мА.
|
|
|
|
Схема мультиметра приведена на рис. 1. При измерении постоянное напряжение поступает через делитель R11—R16 на входы +Вх и —Вх микросхемы DD2. Сопротивление большинства резисторов делителя выбрано кратным 10, что облегчает их подбор. Сопротивление нижнего плеча (R15R16) делителя должно быть 1,111 кОм — оно образовано параллельным подключением резисторов 1,2 кОм и 15 кОм. При использовании резисторов делителя с допуском 0,1 % никакого дополнительного подбора их не по-требуетсй. При измерении постоянного тока входы +Вх и -Вх DD2 подключены к одному из шунтов R17—R21, через которые протекает измеряемый ток. Использование двух секций (SA2.2 и SA2.3) переключателя пределов измерений для коммутации шунтов позволяет исключить влияние нестабильности сопротивления контактов на погрешность измерений и выход из строя прибора в момент переключения пределов. Как указывалось выше, микросхема КР572ПВ5А имеет встроенный источник опорного напряжения 2,8 В ±0,4 В, его плюс подключен к выводу 1 микросхемы и для удобства обозначен за 0 В. Вывод 32 опорного напряжения микросхемы обозначен —3 В и использован в качестве аналогового общего провода мультиметра. Образцовое напряжение 100 мВ получено из опорного на делителе R22—R25.
|
 |
|
|
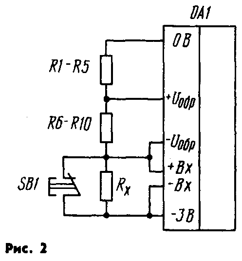
Принцип работы омметра проиллюстрирован на рис. 2. Опорное напряжение приложено к делителю из трех резисторов — токозадающего (Rl—R5), образцового (R6—R10) и измеряемого. Токозадающий резистор подобран так, что падение напряжения на образцовом резисторе составляет около 100 мВ. Отношение напряжений на измеряемом и образцовом резисторах с точностью до множителя 10п является сопротивлением измеряемого резистора и отображается на индикаторе мультиметра. При измерении резисторов различных величин может несколько меняться ток через токозадающий резистор, но это не отразится на результатах измерений, так как микросхема DD2 измеряет отношение напряжений. Не влияет на точность и некоторое уменьшение напряжения опорного источника под нагрузкой (на диапазоне 0,199 кОм она составляет около 1 мА). Кнопка SB1 необходима для того, чтобы образцовое напряжение подавалось на входы +Uобр и —Uобр независимо от того, подключен измеряемый резистор или нет. При ее отсутствии показания омметра будут устанавливаться слишком долго. Для отсчета показаний необходимо нажать кнопку SB1 после подключения измеряемого резистора. Первое положение подвижного контакта переключателя SA1 после состояния «ВЫКЛ» служит для контроля напряжения питания, которое через делитель R26—R28 подается на входы микросхемы DD2. Показания мультиметра в этом режиме не зависят от положения переключателя диапазонов SA2. Подключенные к микросхеме DD2 резисторы R36 и R37 и конденсатор С5 являются частотозадающими элементами генератора, резистором R36 устанавливается частота генерации 50 кГц. Конденсатор СЗ и резистор R35 — элементы интегратора, конденсатор С4 работает в цепи автокоррекции, С2 служит для запоминания образцового напряжения. Цепь R38C6 служит для фильтрации входного напряжения АЦП, R33 и R34 защищают микросхему DD2 от перенапряжений в режиме омметра при случайном подключении прибора в устройство, находящееся под напряжением. Управление местоположением запятой при отсчете показаний осуществляет микросхема DD1. На объединенные входы ее элементов подан сигнал с частотой около 60 Гц с выхода F микросхемы DD2, при логических 0 на других входах элементов они повторяют этот сигнал, напряжение на электродах запятых синфазно напряжению общего электрода и запятые погашены. Если на вход одного из элементов DD1 подается логическая 1 с переключателя SA2.6, этот элемент начинает инвертировать сигнал 60 Гц, напряжения на электроде соответствующей запятой и на общем электроде становятся противофазными, запятая высвечивается. В использованном автором индикаторе запятой после младшего разряда (крайний правый) нет, но в других индикаторах она может быть, поэтому цепь выхода четвертого элемента DD1 (вывод 11) также разведена на печатной плате. Напряжение питания микросхема DD1 получает от специального стабилизатора (несколько меньшего 5 В), имеющегося в микросхеме DD2 (вывод 37). Резисторы R6—R21 следует подобрать с точностью 0,1 %, в крайнем случае — 0,2 %. В конструкции мультиметра использованы резисторы С2-29 мощностью 0,125 Вт. Резистор R21 состоит из десяти параллельно соединенных резисторов мощностью 0,125 Вт, R11 — из пяти последовательно соединенных резисторов мощностью 0,25 Вт. Остальные резисторы могут быть с большим допускаемым отклонением, однако R22, R23, R25—R28 должны быть стабильными, например С2-29. Резисторы R26—R28 могут иметь и другие значения сопротивлени я, но коэффициент деления делителя должен быть 0,01 ± ±0,1 %. Резистор R27 составлен из двух: С2-29 2 кОм 0,125 Вт 0,1 % и МЛТ-0,125 20 Ом 10%. Резистор R1 — КИМ-0,125, подстроечные резисторы — СПЗ-19а. Остальные резисторы — МЛТ-0,125. Конденсаторы СЗ и С4 типа К73-11 на напряжение 63 В, С2 — К73-17 на 63 В с допустимым отклонением не более 10 %. Конденсатор Cl — K50-6. Переключатели SA1 и SA2 типа ПГ2-11-6П6Н, на принципиальной схеме дана нумерация контактов, приведенная на галетах переключателей. Кнопка SB1 — микропереключатель МП7 со специально изготовленным толкателем.
|
|
|
|
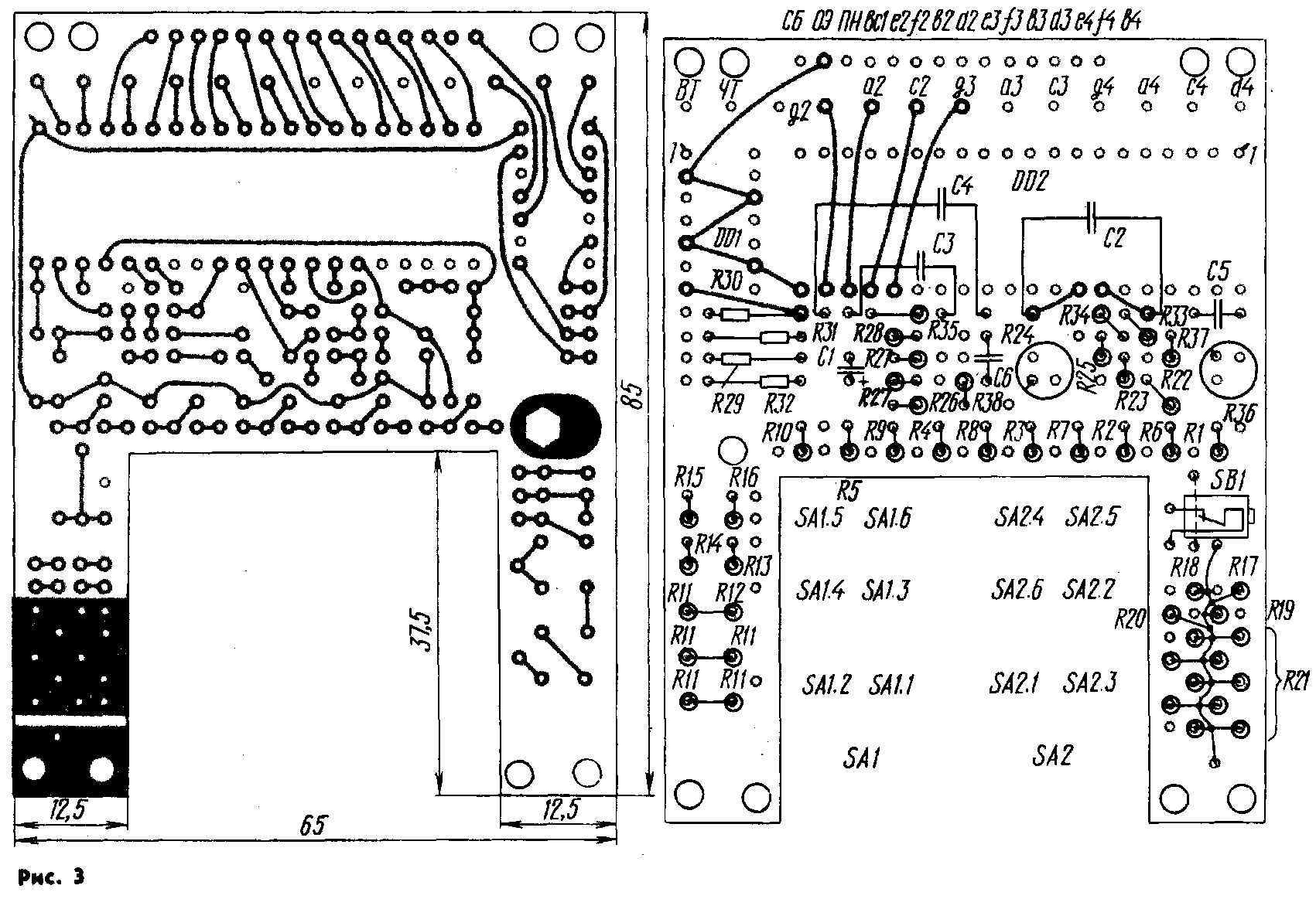
В мультиметре использован жидкокристаллический индикатор ИЖКЦ1-4/24А, используемый для работы в электронных часах. Этот индикатор не имеет запятых, в нем невозможна отдельная индикация сегмента g первого разряда для знака «минус», поэтому в качестве запятых используются сегменты дней недели «ВТ», «ЧТ», «СБ», что вполне приемлемо, а в качестве знака «минус» — сегмент «ПН». Более удобно было бы использование индикатора ИЖКЦ5-4/8. Элементы мультиметра, кроме переключателей и батареи питания, расположены на двух печатных платах из фольгированного стеклотекстолита. Размер обеих плат — 65х85 мм. Основная плата — двусторонняя. На рис. 3, а приведено расположение проводников и деталей, на рис. 3, б — проводников с другой стороны платы.
|
|
 |
|
|
|
Сборку и настройку мультиметра следует проводить в следующем порядке. На основную печатную плату установить детали, за исключением Rl—R23 и переключателей, подать напряжение питания и измерить опорное напряжение Uоп между выводами 32 и 1 микросхемы DD2, отключить питание. По измеренному напряжению рассчитать необходимые сопротивления резисторов:
R22+R23=40Uоп (R—кОм, U—В);
Rl=(10...11)Uоп (R —МОм, U—В).
|
 |
|
|
Резисторы R2—R5 должны быть в 10, 100 и т. д. раз меньше R1. Далее подобрать стабильные резисторы R22 и R23 для обеспечения их необходимой суммы с допуском ±2 %, для Rl—R5 допуск 10 %. На принципиальной схеме указаны номиналы этих резисторов для опорного напряжения 3 В. Установить переключатели, произвести монтаж их цепей проводом МГТФ 0,07 или 0,14, установить все оставшиеся резисторы. Общий провод шунтов R17—R21 выполнен в виде скобы из медного луженого провода, впаянной концами в плату. Провод от гнезда XS2 к этой скобе должен быть проложен отдельно от других цепей и подключен к концу скобы у резисторов R21, остальные проводники этой цепи могут быть проложены произвольно и подключены к этой скобе на другом ее конце. Шунты R19—R21 должны быть подключены к секциям переключателя SA2 двумя проводниками, каждый проводник к своей секции (у R21 для этого предусмотрены два контакта). Поскольку почти все резисторы устанавливаются вертикально, в большинстве случаев при отсутствии необходимого номинала их можно составлять из двух последовательно включенных резисторов. Микропереключатель SB1 закреплен на плате с помощью проволочного хомутика. Подключив частотомер через резистор не менее 51 кОм к выводу 38 микросхемы DD2 и к плюсу батареи питания, проверить возможность регулирования частоты генератора микросхемы резистором R36 в пределах не менее 45...55 кГц. При необходимости подобрать резистор R37. Установить частоту генератора 45 кГц. Откалибровать вольтметр под-строечным резистором R24, подав на его вход контролируемое точным вольтметром напряжение 1,8... 1,9 В. Установив входное напряжение, максимально близкое к предельному значению на этой шкале, сменив его полярность, должен появиться знак «минус». Если показания прибора при этом будут отличаться более чем на единицу младшего разряда, необходимо подобрать номинал R35. Для этого последовательно с R35 подключить подстроечный резистор 47 кОм и, плавно увеличивая его, добиться равенства показаний при положительном и отрицательном входном напряжении. Заменить резистор R35 на резистор с суммарным подобранным сопротивлением или несколько более и установить частоту генератора 50 кГц, что обеспечит необходимый запас по линейности. Затем следует проверить правильность показаний вольтметра на других пределах, работу омметра и миллиамперметра.
Из-за несовершенства микросхемы и утечек по плате омметр имеет систематическую погрешность — занижает показания на 0,1—0,2 %. Для ее исключения целесообразно резисторы R6—R10 подобрать с минусовым допуском той же величины (0,1—0,2 %) или вместо них использовать по два последовательно включенных резистора (вместо R6 — два по 499 кОм, вместо R7 — два по 49,9 кОм и т. д.). Напряжение, подаваемое на вход мультиметра на диапазоне 1999 В, не должно превышать 500 В.
С. БИРЮКОВ, г. Москва
ЛИТЕРАТУРА:
1. Ануфриев Л. Мультиметр на БИС.— Радио, 1986, № 4, с. 34— 39.
2. Бирюков С. Портативный цифровой мультиметр. Сб. «В помощь радиолюбителю», вып. 100.— М.: ДОСААФ СССР, 1988.
РАДИО № 9, 1990 г.
|