Измеритель емкости на логической микросхеме

Ниже предлагается простой по схемотехническому решению измеритель емкости, который может изготовить даже начинающий радиолюбитель. Тем не менее устройство обладает точностью измерения порядка 4 %, что вполне приемлемо при многих радиолюбительских работах.

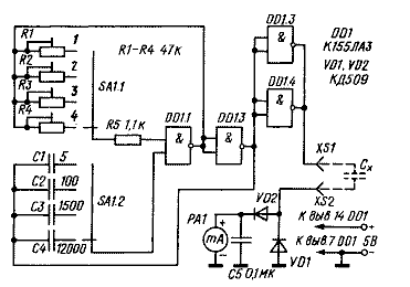
http://www.radio-portal.ru/images/stories/pictures/Emkizm.pngПрибор имеет четыре поддиапазона, определяемых положением переключателя SА1. В положении 1 измеряются конденсаторы с емкостью до 50 пФ, 2 -до 500 пФ, 3 - до 5000 пФ и 4 - до 0,05 мк. На элементах DА1.1 и DA1.2 выполнен генератор прямоугольных импульсов. Частота генерации зависит от емкости конденсатора и сопротивления резистора, включаемых в цепи обратной связи переключателем. Она наибольшая в положении переключателя 1 и наименьшая - в положении 4. Логические элементы DD1.3 и DD1.4 включены параллельно. Это обеспечивает достаточно большой зарядный ток измеряемо╜го конденсатора Сх, который подключается к гнездам ХS1 и ХS2. Повышение зарядного тока снижает влияние сопротивления утечки конденсатора Сх на показания индикатора. Индикация осуществляется стрелочной измерительной головкой с током полного отклонения 1 мА и сопротивлением рамки 240 Ом. Важным условием точности работы является подбор диодов VD1 и VD2 - они должны быть высокочастотными и иметь одинаковые параметры. Настройку измерителя емкости производят отдельно на каждом поддиапазоне. Переключатель диапазонов устанавливают в соответствующее положение. К гнездам подключают конденсатор с точно известной емкостью. Подстройкой одного из подстроечных резисторов R1 - R 4 (соответствующего поддиапазона) добиваются нужного показания по шкале индикатора.

Обсудить эту статью на форуме (0 ответов).
Вся информация, предоставленная на данном ресурсе разрешена к ознакомлению детям школьного возраста. Все практическое использование может быть связана с повышенной электрической опасностью и разрешено детям только под присмотром взрослых.